KUBOTA M95SH PARTS ENGINE 050000 WATER FLANGE AND THERMOSTAT

    KUBOTA >kubota-m95sh-parts-engine-050000-water-flange-and-thermostat
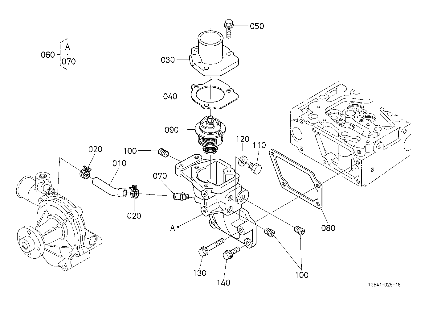
    Ref: 010  Part #: 1C010-73352  Price: $10.03

    Item: PIPE, RETURN WATER

    QTY:  
    Ref: 020  Part #: 09318-88200  Price: $1.87

    Item: CLAMP, HOSE ***

    QTY:  
    Ref: 030  Part #: 1C020-73260  Price: $36.47

    Item: COVER, THERMOSTAT *

    QTY:  
    Ref: 040  Part #: 1C020-73273  Price: $4.80

    Item: GASKET THERMOSTAT

    QTY:  
    Ref: 050140  Part #: 01754-50825  Price: $3.37

    Item: BOLT M8x1.25x25 mm ***

    QTY:  
    Ref: 060  Part #: 1C011-72706  Price: $238.13

    Item: COMP FLANGE, WATER ***

    QTY:  
    Ref: 070  Part #: 1C010-37114  Price: $18.73

    Item: JOINT, WATER PIPE

    QTY:  
    Ref: 080  Part #: 1C010-72820  Price: $5.13

    Item: GASKET NA ***

    QTY:  
    Ref: 090  Part #: 1C011-73013  Price: $50.17

    Item: ASSY THERMOSTAT

    QTY:  
    Ref: 100  Part #: 16241-96020  Price: $3.19

    Item: PLUG

    QTY:  
    Ref: 110  Part #: 15109-33630  Price: $7.89

    Item: PLUG, OIL DRAIN

    QTY:  
    Ref: 120  Part #: 15109-33660  Price: $0.99

    Item: GASKET, COPPER

    QTY:  
    Ref: 130  Part #: 01754-50850  Price: $4.01

    Item: BOLT M8x1.25x50 mm ***

    QTY:  

    Our website uses cookie to give you the best online shopping experience. More information