KUBOTA MX5400H PARTS ENGINE 501000 OIL PAN

    KUBOTA >kubota-mx5400h-parts-engine-501000-oil-pan
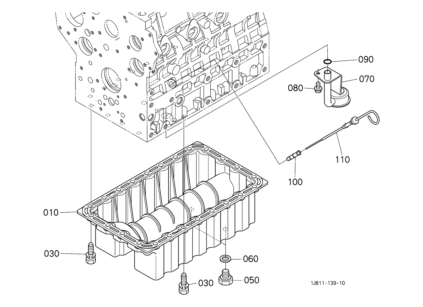
    Ref: 010  Part #: 17341-01612  Price: $533.51

    Item: PAN, OIL ***

    QTY:  
    Ref: 030  Part #: 1A091-91010  Price: $3.04

    Item: BOLT, SEMS

    QTY:  
    Ref: 050  Part #: 16427-33750  Price: $6.94

    Item: PLUG, OIL PAN DRAIN

    QTY:  
    Ref: 060  Part #: 6C090-58960  Price: $3.20

    Item: GASKET, OILPAN DRAIN

    QTY:  
    Ref: 070  Part #: 1J854-32110  Price: $32.65

    Item: FILTER(OIL,1)

    QTY:  
    Ref: 080  Part #: 01754-50812  Price: $2.59

    Item: BOLT M8x1.25x12 mm ***

    QTY:  
    Ref: 090  Part #: 04817-00160  Price: $1.32

    Item: O-RING

    QTY:  
    Ref: 100  Part #: 17456-36420  Price: $26.76

    Item: GUIDE OIL GAUGE

    QTY:  
    Ref: 110  Part #: 1J854-36412  Price: $32.19

    Item: GAUGE, OIL

    QTY:  

    Our website uses cookie to give you the best online shopping experience. More information