KUBOTA RC72 30BB PARTS MOWER A10900 DISCHARGE COVER

    KUBOTA >kubota-rc72-30bb-parts-mower-a10900-discharge-cover
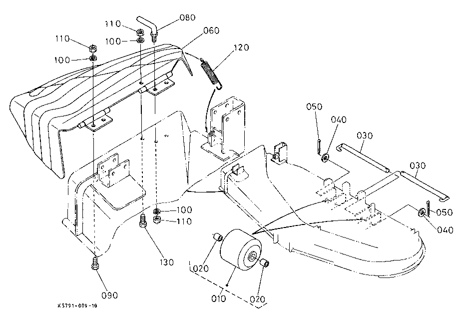
    Ref: 010  Part #: 76507-46250  Price: $14.69

    Item: ROLLER, ANTISCALP

    QTY:  
    Ref: 020  Part #: 08511-01220  Price: $5.66

    Item: BUSHING

    QTY:  
    Ref: 030  Part #: 70720-46183  Price: $21.73

    Item: PIN, GAUGE WHEEL

    QTY:  
    Ref: 040  Part #: 04011-50120  Price: $0.99

    Item: WASHER, PLAIN ***

    QTY:  
    Ref: 050  Part #: 05511-50425  Price: $0.99

    Item: PIN, SPLIT ***

    QTY:  
    Ref: 060  Part #: 76550-27114  Price: $196.90

    Item: COVER

    QTY:  
    Ref: 080  Part #: 70721-47130  Price: $34.86

    Item: STOPPER, CHUTE

    QTY:  
    Ref: 090  Part #: 01173-51025  Price: $0.99

    Item: BOLT M10x1.25x25 mm ***

    QTY:  
    Ref: 100  Part #: 04512-50100  Price: $0.99

    Item: WASHER,M10 SPRING LOCK ***

    QTY:  
    Ref: 110  Part #: 02118-50100  Price: $0.99

    Item: NUT, HEX 4T M10X1.25 (CRP SPD KIT) ***

    QTY:  
    Ref: 120  Part #: 70722-47120  Price: $8.94

    Item: SPRING

    QTY:  
    Ref: 130  Part #: 01173-51028  Price: $1.04

    Item: BOLT M10x1.25x28 mm

    QTY:  

    Our website uses cookie to give you the best online shopping experience. More information