KUBOTA RTV X1120DR PARTS FRONT REAR TIRE R10103 FRONT WHEEL (2510-12)

    KUBOTA >kubota-rtv-x1120dr-parts-front-rear-tire-r10103-front-wheel-(2510-12)
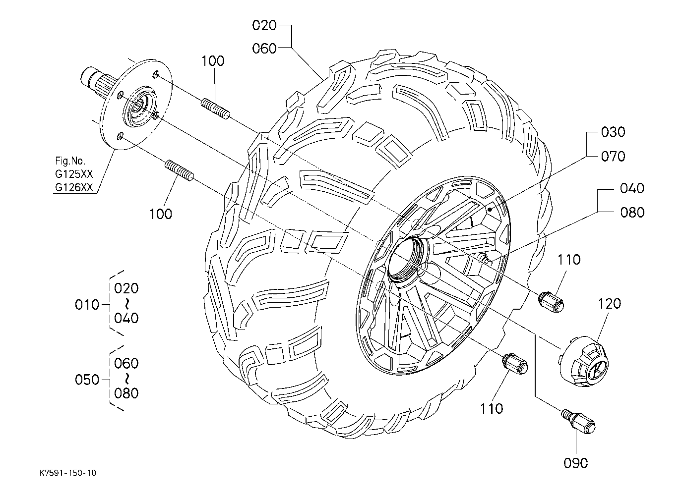
    Ref: 010  Part #: K7591-19720  Price: $705.16

    Item: COMP ASSY TIRE,LH 25X10 A ***

    QTY:  
    Ref: 010  Part #: K7591-99850  Price: $381.33

    Item: 25x10-12/6PR 440 Mag Assy LH (AL, B) **

    QTY:  
    Ref: 020060  Part #: K7561-19120  Price: $193.41

    Item: 25x10.00-12/6PR 440 Mag *** ***

    QTY:  
    Ref: 030070  Part #: K7591-19742  Price: $270.82

    Item: WHEEL(8.50-12 AL B) ***

    QTY:  
    Ref: 030070  Part #: K7591-19742  Price: $270.82

    Item: WHEEL(8.50-12 AL B) ***

    QTY:  
    Ref: 040080  Part #: K7591-19780  Price: $4.88

    Item: VALVE,TIRE BLACK ***

    QTY:  
    Ref: 050  Part #: K7591-99860  Price: $381.33

    Item: 25x10-12/6PR 440 Mag Assy RH (AL, B) **

    QTY:  
    Ref: 050  Part #: K7591-99860  Price: $381.33

    Item: 25x10-12/6PR 440 Mag Assy RH (AL, B) **

    QTY:  
    Ref: 090  Part #: K7591-19950  Price: $6.25

    Item: BOLT, WHEEL, 1/2-20 B ***

    QTY:  
    Ref: 100  Part #: K3181-17214  Price: $1.57

    Item: STUD (WHEEL,1/2) ***

    QTY:  
    Ref: 110  Part #: K7591-19940  Price: $3.80

    Item: NUT, WHEEL, 1/2-20 B *** ***

    QTY:  
    Ref: 120  Part #: K7591-19850  Price: $19.10

    Item: CAP (WHEEL B) ***

    QTY:  

    Our website uses cookie to give you the best online shopping experience. More information