KUBOTA U35 PARTS FRONT ATTACHMENTS G50000 BLADE

    KUBOTA >kubota-u35-parts-front-attachments-g50000-blade
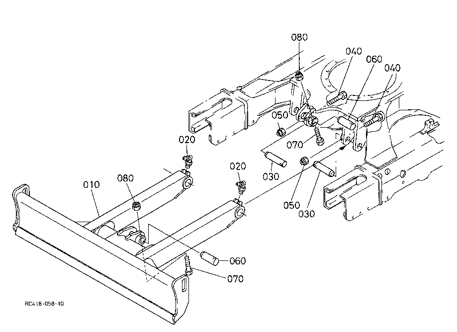
    Ref: 010  Part #: RC718-91314  Price: $3,573.88

    Item: KIT BLADE (A) ***

    QTY:  
    Ref: 020  Part #: 06616-25010  Price: $1.72

    Item: NIPPLE , GREASE 1/8-27 NPTF ***

    QTY:  
    Ref: 030  Part #: RC661-74430  Price: $88.20

    Item: PIN(40-161)

    QTY:  
    Ref: 040  Part #: 01173-71270  Price: $1.82

    Item: BOLT M12x1.25x70 mm

    QTY:  
    Ref: 050080  Part #: 02572-50120  Price: $4.13

    Item: NUT, SELF LOCKING ***

    QTY:  
    Ref: 060  Part #: RC661-74440  Price: $77.83

    Item: PIN, (45-131)

    QTY:  
    Ref: 070  Part #: 01173-71280  Price: $2.91

    Item: BOLT

    QTY:  

    Our website uses cookie to give you the best online shopping experience. More information