KUBOTA V4213 PARTS I00400 DOOR

    KUBOTA >kubota-v4213-parts-i00400-door
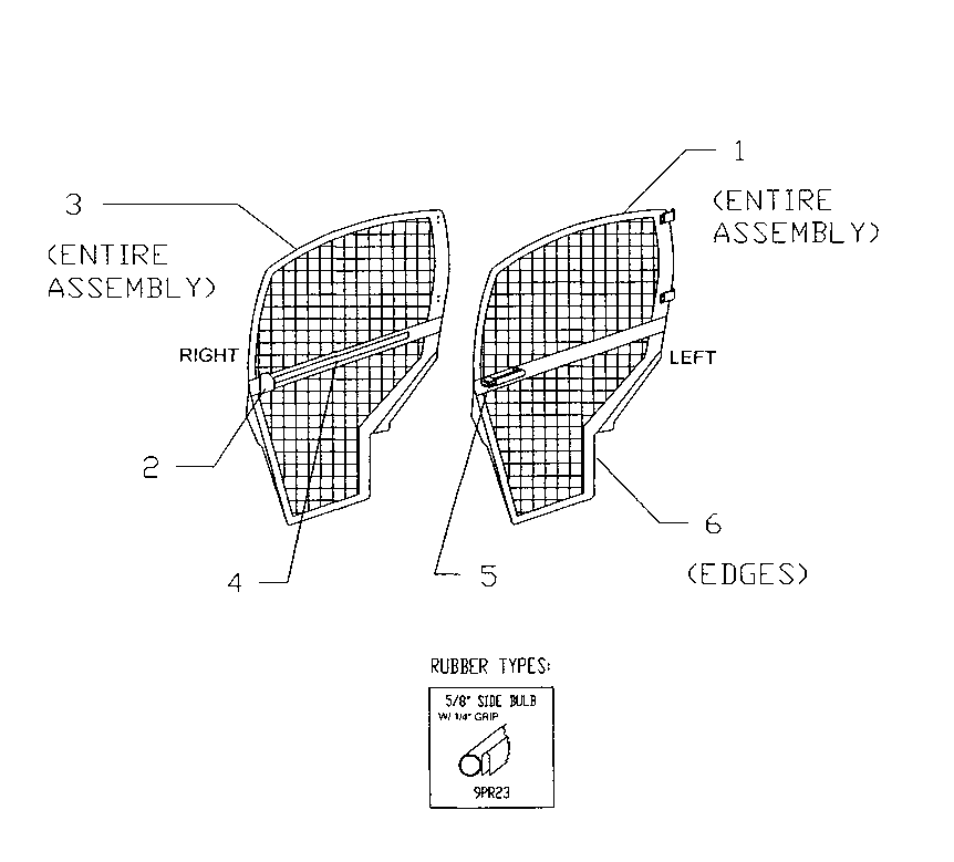
    Ref: 001  Part #: 70000-01113  Price: $1,360.99

    Item: DOOR COMP, L GOLF CAGE

    QTY:  
    Ref: 002  Part #: 70000-01017  Price: $75.01

    Item: LATCH, DOOR INSIDE RIGHT ROTARY ***

    QTY:  
    Ref: 003  Part #: 70000-01114  Price: $1,584.18

    Item: DOOR COMP, R GOLF CAGE

    QTY:  
    Ref: 004  Part #: 70000-01021  Price: $36.25

    Item: HANDLE,DOOR INSIDE GRAB (PLASTIC) ***

    QTY:  
    Ref: 005  Part #: 70000-01018  Price: $52.25

    Item: HANDLE, OUTSIDE DOOR LATCH W/KEY ***

    QTY:  
    Ref: 006  Part #: 70000-01197  Price: $112.63

    Item: SEAL,RUBBER (180") 5/8" SIDE BULB

    QTY:  
    Ref: 007  Part #: 70000-01016  Price: $75.01

    Item: LATCH, DOOR INSIDE LEFT ROTARY ***

    QTY:  

    Our website uses cookie to give you the best online shopping experience. More information