WOODS 2120Q 3 BATWING Center Section Double-Row Chain Shielding (Optional) Assembly

    WOODS >woods-2120q-3-batwing-rotary-cutter-parts-center-section-double-row-chain-shielding-(optional)-assembly
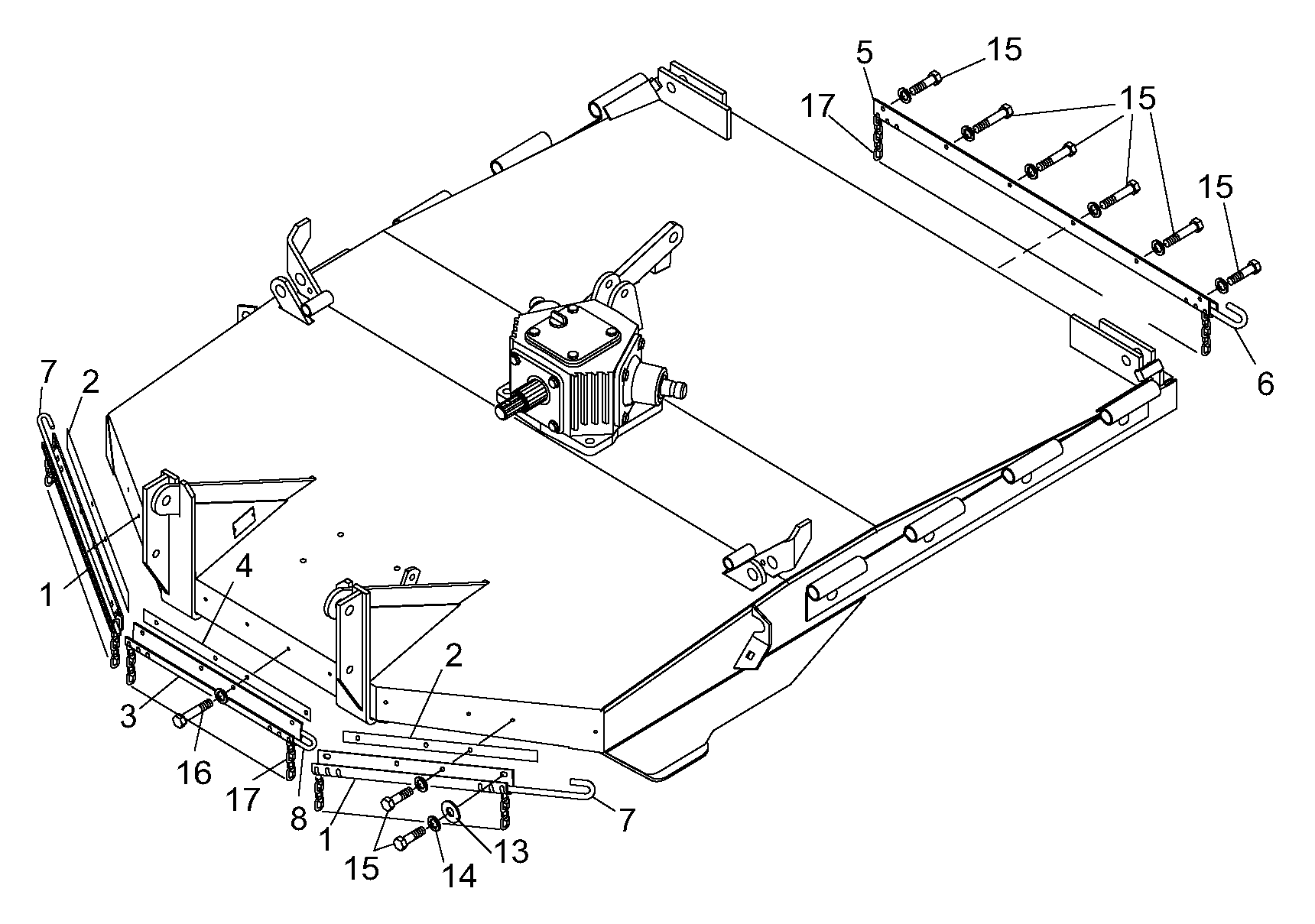
    Ref: 1  Part #: 19373  Price: $72.55

    Item: BRKT CEN SIDE 7GAX2.4X22.25

    QTY:  
    Ref: 2  Part #: 19375  Price: $18.83

    Item: LNK .18 X 1.50 X 19.0

    QTY:  
    Ref: 3  Part #: 19374  Price: $101.31

    Item: BRKT CEN FRNT 7GAX2.4X23.50

    QTY:  
    Ref: 4  Part #: 19376  Price: $28.59

    Item: LNK .50 X 2.00 X 18.3

    QTY:  
    Ref: 5  Part #: 19378  Price: $141.31

    Item: BRKT CEN REAR 7GAX3.81X43.5

    QTY:  
    Ref: 6  Part #: 1007851  Price: $13.05

    Item: PIN, 34 TO 36 CHAINS FOR CHN SLD

    QTY:  
    Ref: 7  Part #: 1003643  Price: $8.02

    Item: PIN, 19 TO 21 CHAINS FOR CHN SLD

    QTY:  
    Ref: 8  Part #: 1003643  Price: $8.02

    Item: PIN, 19 TO 21 CHAINS FOR CHN SLD

    QTY:  
    Ref: 13  Part #: 565  Price: $1.72

    Item: WASHER, FLAT 3/8

    QTY:  
    Ref: 14  Part #: 838  Price: $1.44

    Item: WASHER, LOCK, 3/8 ZP

    QTY:  
    Ref: 15  Part #: 19446  Price: $2.52

    Item: SCREW, .38X1.25 TYP T SLF TAP

    QTY:  
    Ref: 16  Part #: 19397  Price: Call for price

    Item: Screw, .38 x 1.50 Type T, self-tapping

    QTY:  
    Ref: 17  Part #: 3994  Price: $1.69

    Item: CHAIN, 5/16, 5 LINK

    QTY:  

    Our website uses cookie to give you the best online shopping experience. More information