WOODS 2162RQ BATWING Wing Wheel And Tires Assembly

    WOODS >woods-2162rq-batwing-rotary-cutter-parts-wing-wheel-and-tires-assembly
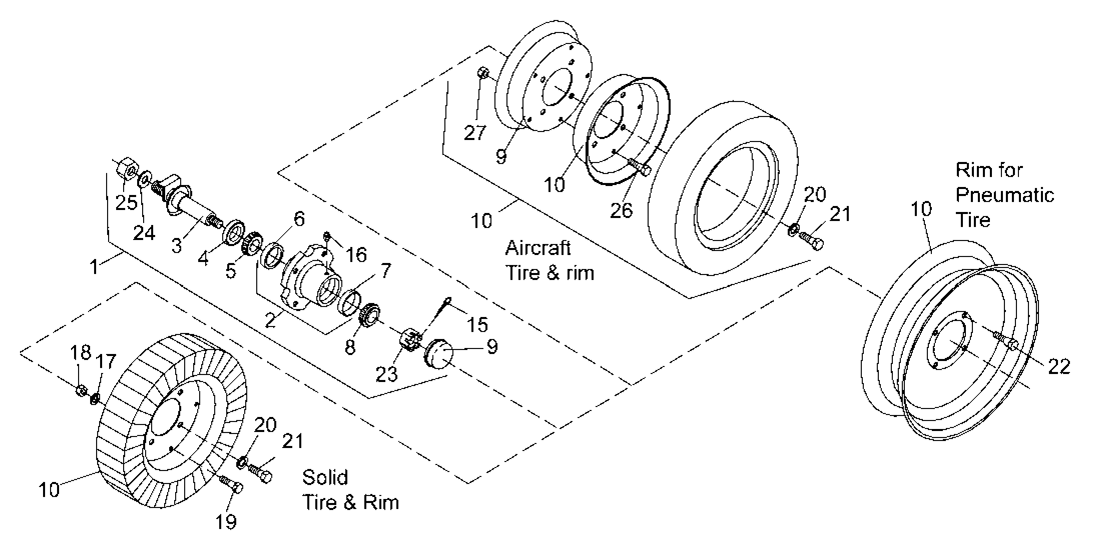
    Ref: 1  Part #: 12080RP  Price: $258.23

    Item: STD WH HUB W/LONG AXLE

    QTY:  
    Ref: 2  Part #: 2307  Price: $96.13

    Item: HUB WHEEL W/CUPS

    QTY:  
    Ref: 3  Part #: 12081  Price: $112.83

    Item: AXLE ASY/WING

    QTY:  
    Ref: 4  Part #: 6273  Price: $8.36

    Item: SEAL 1.50 X 2.37 X .50

    QTY:  
    Ref: 5  Part #: 1017028  Price: $31.96

    Item: BEARING, CONE, LM67048

    QTY:  
    Ref: 6  Part #: 1017036  Price: $13.35

    Item: BEARING, CUP, LM67010

    QTY:  
    Ref: 7  Part #: 2306  Price: $11.43

    Item: BRG-CUP, LM11910

    QTY:  
    Ref: 8  Part #: 2304  Price: $18.74

    Item: BRG-CONE, LM11949

    QTY:  
    Ref: 9  Part #: 6248  Price: $11.20

    Item: HUB CAP - STD

    QTY:  
    Ref: 10  Part #: 529  Price: $82.04

    Item: RIM 15 X 4-1/2 4

    QTY:  
    Ref: 10  Part #: W7428RP  Price: $236.08

    Item: TIRE/WHEEL, 4BLT 21 OD SLD LAM

    QTY:  
    Ref: 10  Part #: 53615  Price: Call for price

    Item: Wheel assembly 25.0 x 6.75 x 14.0 (See note 3)

    QTY:  
    Ref: 10  Part #: 1000771  Price: Call for price

    Item: Aircraft wheel & tire 27.75 x 8.75 x 14.5 (See note 4)

    QTY:  
    Ref: 10  Part #: 1003410  Price: $489.27

    Item: ASY, WHEEL AIR 29X9.0 X15.0 4-BOLT

    QTY:  
    Ref: 10A  Part #: 1015833  Price: $42.01

    Item: INNER TUBE, 29 X 9 X 15 TIRE

    QTY:  
    Ref: 11  Part #: 1003411  Price: $122.33

    Item: RIM HALF 15.0 X 6.0

    QTY:  
    Ref: 12  Part #: 1003412  Price: $122.62

    Item: RIM HALF W/VLV HOLE 15.0 X 6.0

    QTY:  
    Ref: 15  Part #: 1256  Price: $1.19

    Item: 3/16 X 1, COTTER PIN

    QTY:  
    Ref: 16  Part #: 1972  Price: $2.93

    Item: FITTING, GREASE ZERK 1/4-28

    QTY:  
    Ref: 17  Part #: 838  Price: $1.44

    Item: WASHER, LOCK, 3/8 ZP

    QTY:  
    Ref: 18  Part #: 835  Price: $1.72

    Item: NUT, HEX 3/8 NC ZP

    QTY:  
    Ref: 19  Part #: 19887  Price: $1.54

    Item: BOLT, HEX 3/8 NC X 1 GR8 ZP

    QTY:  
    Ref: 20  Part #: 855  Price: $1.44

    Item: WASHER, LOCK, 1/2 ZP

    QTY:  
    Ref: 21  Part #: 4358  Price: $1.90

    Item: HHCS 1/2 NF X 1-1/4 GR5

    QTY:  
    Ref: 22  Part #: 1258  Price: $3.58

    Item: BOLT, HEX WHEEL, 1/2 -20 NF X 1-1/8

    QTY:  
    Ref: 23  Part #: 5849  Price: $3.13

    Item: NUT, SLOTTED, 3/4-16 X 21/32, GR5

    QTY:  
    Ref: 24  Part #: 3689  Price: $1.15

    Item: WASHER, LOCK, 1 STD D

    QTY:  
    Ref: 25  Part #: 3626  Price: $3.31

    Item: NUT HEX 1-14 UNS

    QTY:  
    Ref: 26  Part #:   Price: $0.99

    Item: WDS-117

    QTY:  
    Ref: 27  Part #:   Price: $0.99

    Item: WDS-117

    QTY:  

    Our website uses cookie to give you the best online shopping experience. More information