WOODS 3240Q BATWING Crossbar Puller (Optional) Assembly

    WOODS >woods-3240q-batwing-rotary-cutter-parts-crossbar-puller-(optional)-assembly
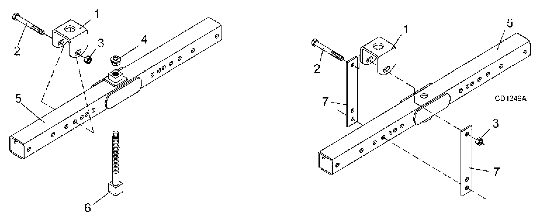
    Ref: A  Part #: 8811  Price: $1,061.55

    Item: BLADE CARRIER, KIT CROSSBAR PULLER

    QTY:  
    Ref: 1  Part #: 19914  Price: $42.02

    Item: Crossbar puller clevis

    QTY:  
    Ref: 2  Part #: 3097  Price: $5.06

    Item: BOLT, HEX 5/8 NC X 4-1/2 GR5 ZP

    QTY:  
    Ref: 3  Part #: 230  Price: $1.72

    Item: NUT, HEX, 5/8 NC PLATD

    QTY:  
    Ref: 4  Part #: 24879RP  Price: $31.85

    Item: BLADE CARRIER, PULLER PAD ASSEMBLY

    QTY:  
    Ref: 5  Part #: 24876  Price: $301.04

    Item: BLADE CARRIER, PULLER TUBE ASSEMBLY

    QTY:  
    Ref: 6  Part #: 24881  Price: $606.29

    Item: BLADE CARRIER, PULLER SCREW ASSEMBLY

    QTY:  
    Ref: 7  Part #: 24885RP  Price: $68.06

    Item: CROSSBAR PULLER LINK

    QTY:  

    Our website uses cookie to give you the best online shopping experience. More information