WOODS 5210 Tractor Drive Assembly SN 325650 & Up

    WOODS >woods-5210-mow-n-machine-parts-tractor-drive-assembly-sn-325650-&-up
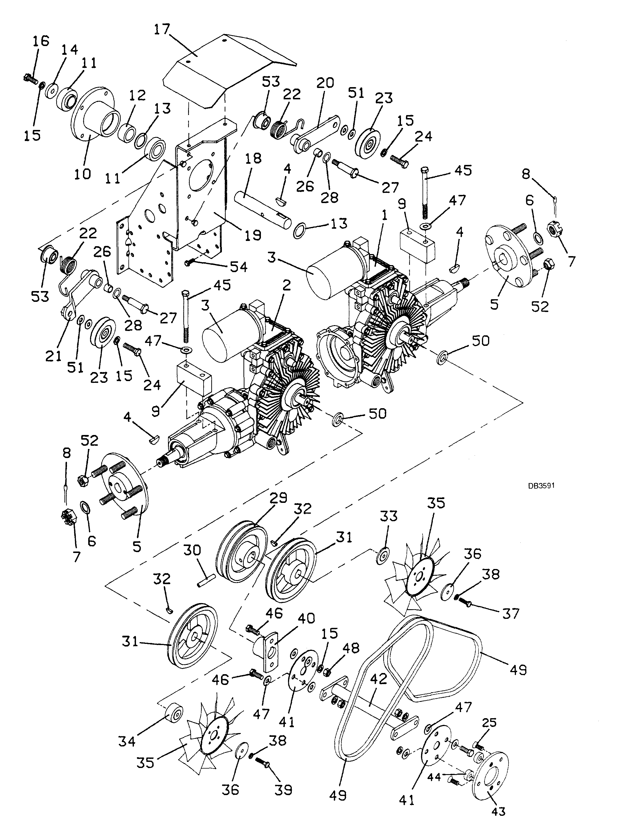
    Ref: 1  Part #: 71710  Price: $1,646.40

    Item: TRANS RT W/BRK .

    QTY:  
    Ref: 2  Part #: 71711  Price: $1,646.40

    Item: TRANS LT W/BRK .

    QTY:  
    Ref: 3  Part #: W71066  Price: $36.89

    Item: OIL FILTER /MR

    QTY:  
    Ref: 4  Part #: 63014  Price: $2.52

    Item: .25 X 1.0 WOODRUFF KEY

    QTY:  
    Ref: 5  Part #:   Price: $0.99

    Item: WDS-117

    QTY:  
    Ref:   Part #: 71701  Price: $35.60

    Item: HUB PULLER KIT

    QTY:  
    Ref: 6  Part #: 70417  Price: $3.63

    Item: WSHR .75ID 14GATHICK BSHG

    QTY:  
    Ref: 7  Part #: W71152  Price: $22.34

    Item: NUT NYLOCK .75-20

    QTY:  
    Ref: 8  Part #: 3597  Price: $1.72

    Item: PIN, COTTER 1/8 X 1

    QTY:  
    Ref: 9  Part #:   Price: $0.99

    Item: WDS-117

    QTY:  
    Ref: 10  Part #: 70608RP  Price: $154.25

    Item: SPINDLE HSG-VAC FAN

    QTY:  
    Ref: 11  Part #: W70589  Price: $36.62

    Item: BRG-BALL 1 CYL W/LC

    QTY:  
    Ref: 12  Part #: 33647  Price: $3.13

    Item: PIPE 1 SCH 40 X 0.75

    QTY:  
    Ref: 13  Part #: W70601  Price: $4.49

    Item: SHIM 1.00ID 1.50OD 18GATHICK

    QTY:  
    Ref: 14  Part #: 70355  Price: $12.12

    Item: WSHR RETAINING/MR

    QTY:  
    Ref: 15  Part #: 838  Price: $1.44

    Item: WASHER, LOCK, 3/8 ZP

    QTY:  
    Ref: 16  Part #: 64518  Price: $1.72

    Item: HHCS 3/8 NF X 1 GR5

    QTY:  
    Ref: 17  Part #: W71069  Price: $30.54

    Item: SHIELD /MR

    QTY:  
    Ref: 18  Part #: W71070  Price: $370.66

    Item: TRANSAXLE DRIVE SHAFT

    QTY:  
    Ref: 19  Part #: W71712  Price: $224.33

    Item: MOUNT-CENTER DRIVE

    QTY:  
    Ref: 20  Part #: 71321  Price: $223.38

    Item: IDLER ARM W/SPG-LOWER/MR

    QTY:  
    Ref: 21  Part #: 71322  Price: $139.19

    Item: IDLER ARM W/SPG-UPPER/MR

    QTY:  
    Ref: 22  Part #: W71074  Price: $9.74

    Item: TORSION SPRING

    QTY:  
    Ref: 23  Part #: W71176  Price: $23.12

    Item: IDLER PULLEY .375 ID

    QTY:  
    Ref: 24  Part #: 976  Price: $1.72

    Item: HHCS 3/8 NC X 1-1/2 GR5 ZP

    QTY:  
    Ref: 25  Part #: W70490  Price: $3.40

    Item: FHCS M8 X 20MM /MR

    QTY:  
    Ref: 26  Part #: W71323  Price: $7.54

    Item: BEARING NYLON .5 /MR

    QTY:  
    Ref: 27  Part #: 65949  Price: $8.52

    Item: 3/8NCX2X1/2 SHLDR SCREW

    QTY:  
    Ref: 28  Part #: W71076  Price: $2.33

    Item: SHIM .520 ID .010THICK /MR

    QTY:  
    Ref: 29  Part #: W71077  Price: $254.43

    Item: SHEAVE 2 GROOVE

    QTY:  
    Ref: 30  Part #: 30010  Price: $3.36

    Item: 5/16X2 SPIROL PIN

    QTY:  
    Ref: 31  Part #: 71730  Price: $102.45

    Item: SHV-A 1GR 5.5X.67 BOR

    QTY:  
    Ref: 32  Part #: 64044  Price: $1.54

    Item: 3/16 X 5/8WOODRUFF KEY

    QTY:  
    Ref: 33  Part #: W71486  Price: $5.39

    Item: SPACER-FAN RT .670 /MR

    QTY:  
    Ref: 34  Part #: W71487  Price: $10.24

    Item: SPACER-FAN LT .670 /MR

    QTY:  
    Ref: 35  Part #: W70790  Price: $35.08

    Item: NYLON CLNG FAN RT CCW/MR

    QTY:  
    Ref: 36  Part #: W71079  Price: $1.97

    Item: WSHR FLAT/MR

    QTY:  
    Ref: 37  Part #: 3184  Price: Call for price

    Item: Bolt .25-20 x 1.25 GR5

    QTY:  
    Ref: 38  Part #: 1985  Price: $1.64

    Item: WASHER, LOCK 1/4

    QTY:  
    Ref: 39  Part #: 22348  Price: $0.99

    Item: HHCS, 1/4NC X 2 GR5

    QTY:  
    Ref: 40  Part #: W71082  Price: $133.82

    Item: HUB - FLEX COUPLING 1.00 BORE

    QTY:  
    Ref: 41  Part #: 70384  Price: $57.67

    Item: DISC-FLEX COUPLING /MR

    QTY:  
    Ref: 42  Part #: W71084  Price: $96.28

    Item: COUPLING CONNECTOR /MR

    QTY:  
    Ref: 43  Part #: 70483  Price: $35.93

    Item: COUPLING ADAPTER /MR

    QTY:  
    Ref: 44  Part #: W70229  Price: $11.01

    Item: SPACER /MR

    QTY:  
    Ref: 45  Part #: 71713  Price: Call for price

    Item: Bolt .375-16 x 5

    QTY:  
    Ref: 46  Part #: 839  Price: $1.54

    Item: BOLT, HEX 3/8 NC X 1 GR5 ZP

    QTY:  
    Ref: 47  Part #: 565  Price: $1.72

    Item: WASHER, FLAT 3/8

    QTY:  
    Ref: 48  Part #: 835  Price: $1.72

    Item: NUT, HEX 3/8 NC ZP

    QTY:  
    Ref: 49  Part #: W71085  Price: $29.73

    Item: BELT /MR

    QTY:  
    Ref: 50  Part #: 71484  Price: $1.72

    Item: SPACER-.70 X 1.125 /MR

    QTY:  
    Ref: 51  Part #: 4378  Price: $0.99

    Item: WASHER, FLAT SAE 5/16

    QTY:  
    Ref: 52  Part #: 35317  Price: $2.74

    Item: NUT, LUG 1/2 NF

    QTY:  
    Ref: 53  Part #: 71324  Price: $27.67

    Item: BEARING DOUBLE /MR

    QTY:  
    Ref: 54  Part #: 71359  Price: $1.52

    Item: BOLT 1/4 NC X 3/4 /MR

    QTY:  
    Ref:   Part #: W70785  Price: $10.34

    Item: BOLT LUG 1/2 NF X 1-3/4

    QTY:  

    Our website uses cookie to give you the best online shopping experience. More information