WOODS 6182 SN 621004 & UP Counterweight Mount Kit (Optional) Assembly

    WOODS >woods-6182-sn-621004-and-up-mow-n-machine-parts-counterweight-mount-kit-(optional)-assembly
    Ref:   Part #: 70980  Price: Call for price

    Item: Counterweight mount kit

    QTY:  
    Ref:   Part #: 71612  Price: Call for price

    Item: 100 Lb. Counterweight kit (See note 1)

    QTY:  
    Ref:   Part #: 71512  Price: Call for price

    Item: 50 Lb. Counterweight kit (See note 2)

    QTY:  
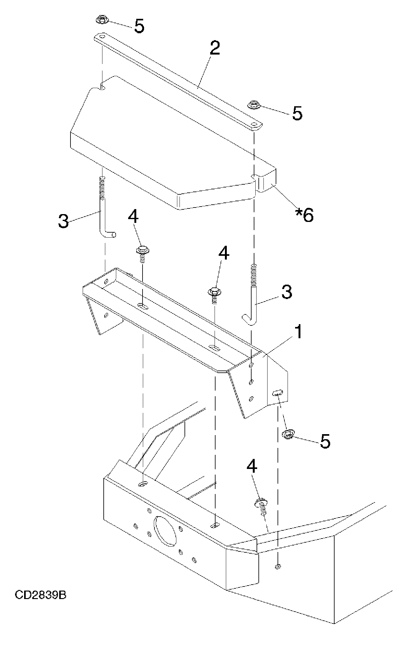
    Ref: 1  Part #: 71063RP  Price: $82.13

    Item: WA COUNTER WEIGHT MOUNT

    QTY:  
    Ref: 2  Part #: W71123  Price: $23.00

    Item: WEIGHT STRAP

    QTY:  
    Ref: 3  Part #: W71156  Price: $21.45

    Item: BOLT HOOK .375-16 X 6.00

    QTY:  
    Ref: 4  Part #: 62153  Price: $2.31

    Item: SCREW 3/8NC X 1 HX FLNG SRTD

    QTY:  
    Ref: 5  Part #: W71626  Price: $2.52

    Item: NUT WHIZ 3/8 NC FLANGE /MR

    QTY:  
    Ref: 6  Part #: 71512  Price: Call for price

    Item: 50-Lb. Counterweight (See note 3)

    QTY:  

    Our website uses cookie to give you the best online shopping experience. More information