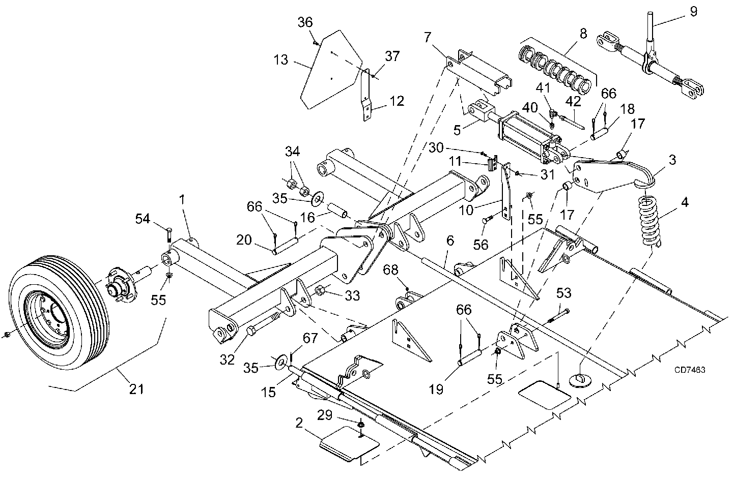
WOODS BW126HB BATWING BW180HD - MAIN FRAME ASSEMBLY (REAR SECTION)

    WOODS >woods-bw126hb-batwing-rotary-cutter-parts-bw180hd---main-frame-assembly-(rear-section)
    Ref: 1  Part #: 1027470  Price: $1,762.87

    Item: WA, CTR WHL YOKE, BW180-3

    QTY:  
    Ref: 2  Part #: 57050RP  Price: $40.73

    Item: LINK BENT .14X 9.00X 7.84

    QTY:  
    Ref: 3  Part #: 1027305RP  Price: $292.71

    Item: WA, BW SPRING ARM

    QTY:  
    Ref: 4  Part #: 19710RP  Price: $145.22

    Item: SPR, CMP3.25 .69 9.52200

    QTY:  
    Ref: 5  Part #: 10475  Price: $274.00

    Item: 3-1/2X8 HYD CYLW

    QTY:  
    Ref: 6  Part #: 1003491RP  Price: $213.50

    Item: WA ATTITUDE ROD

    QTY:  
    Ref: 7  Part #: 1004814RP  Price: $156.43

    Item: TRANSPORT LOCK-UP

    QTY:  
    Ref: 8  Part #: 24098  Price: $40.68

    Item: 1-1/4CYL STRK CN

    QTY:  
    Ref: 9  Part #: 23650  Price: Call for price

    Item: Ratchet adjustable link bundle (optional)

    QTY:  
    Ref: 10  Part #: 632851RP  Price: $115.07

    Item: BRACKET, W_DECALS SMV SIS BW20

    QTY:  
    Ref: 11  Part #: 62484  Price: $8.77

    Item: SOCKET, SMV EMBLEM

    QTY:  
    Ref: 12  Part #: 1004251  Price: $13.13

    Item: EMBLEM, SMV BRACKET

    QTY:  
    Ref: 13  Part #: 24611  Price: $49.54

    Item: EMBLEM, SMV

    QTY:  
    Ref: 15  Part #: 1003495RP  Price: $106.25

    Item: HINGE PIN,

    QTY:  
    Ref: 16  Part #: 27267  Price: $11.72

    Item: PIIPE, 1 SCHEDULE 40 X 3.75

    QTY:  
    Ref: 17  Part #: 65130  Price: $4.40

    Item: PIPE, 1 SCH 40X 1.00

    QTY:  
    Ref: 18  Part #: 1631  Price: $16.31

    Item: PIN, HDLS 1.00 X 2.72

    QTY:  
    Ref: 19  Part #: 8346  Price: $20.35

    Item: PIN, HDLS 1.00 X 4.58

    QTY:  
    Ref: 20  Part #: 8347  Price: $21.90

    Item: PIN, HDLS 1.00 X 5.08

    QTY:  
    Ref: 21  Part #: -----  Price: Call for price

    Item: Tire & hub (see page 62)

    QTY:  
    Ref: 29  Part #: 14350  Price: $1.72

    Item: NUT, LOCK FLANGE 3/8 NC

    QTY:  
    Ref: 30  Part #: 16148  Price: $1.15

    Item: BOLT, CARRIAGE, 5/16 NC X 3/4

    QTY:  
    Ref: 31  Part #: 14139  Price: $3.13

    Item: NUT, LOCK FLANGE 5/16 NC

    QTY:  
    Ref: 32  Part #: 1003606  Price: $10.18

    Item: BOLT, HEX 1 NC X 6 GR5 ZP

    QTY:  
    Ref: 33  Part #: 34279  Price: $8.52

    Item: NUT, LOCK 1 NC

    QTY:  
    Ref: 34  Part #: 3132  Price: $7.38

    Item: NUT, HEX, 1 NC ZP

    QTY:  
    Ref: 35  Part #: 1863  Price: $2.13

    Item: WASHER, FLAT, 1 SAE ZP

    QTY:  
    Ref: 36  Part #: 1282  Price: $0.99

    Item: SCREW, ROUND HEAD SLOTTED 1/4NC X X1/2

    QTY:  
    Ref: 37  Part #: 5288  Price: $1.54

    Item: NUT, HEX 1/4 NC

    QTY:  
    Ref: 40  Part #: W11893  Price: $2.52

    Item: ADAPTER, 1/4 NPTF 1/2 NPTM

    QTY:  
    Ref: 41  Part #: 10290  Price: $7.20

    Item: FITTING, ELBOW 1/4 X X1/4 W/1/16 RESTRC

    QTY:  
    Ref: 42  Part #: 8669  Price: $104.20

    Item: HOSE, 1/4 X 1/4 X 156

    QTY:  
    Ref: 53  Part #: 23479  Price: $3.91

    Item: BOLT, HEX 1/2 NC X 5 GR5 ZP

    QTY:  
    Ref: 54  Part #: 3489  Price: $2.74

    Item: BOLT, HEX 1/2 NC X 3 GR5 ZP

    QTY:  
    Ref: 55  Part #: 11900  Price: $1.90

    Item: NUT, LOCK FLANGE 1/2 NC

    QTY:  
    Ref: 56  Part #: 29893  Price: $2.52

    Item: BOLT, CARRIAGE 1/2 NC X 1-1/2 HT

    QTY:  
    Ref: 66  Part #: 1285  Price: $1.44

    Item: PIN, COTTER 1/4 X 1-1/2

    QTY:  
    Ref: 67  Part #: 66016  Price: $3.40

    Item: PIN, SPRING 1/4 X 1-1/2

    QTY:  
    Ref: 68  Part #: 12296  Price: $1.54

    Item: FITTING, GREASE 1/4-28 X 15/32 STRT

    QTY:  

    Our website uses cookie to give you the best online shopping experience. More information