WOODS HD315 5 BATWING (3/92) Wing Spring Arm Assembly

    WOODS >woods-hd315-5-3-92-batwing-rotary-cutter-parts-wing-spring-arm-assembly
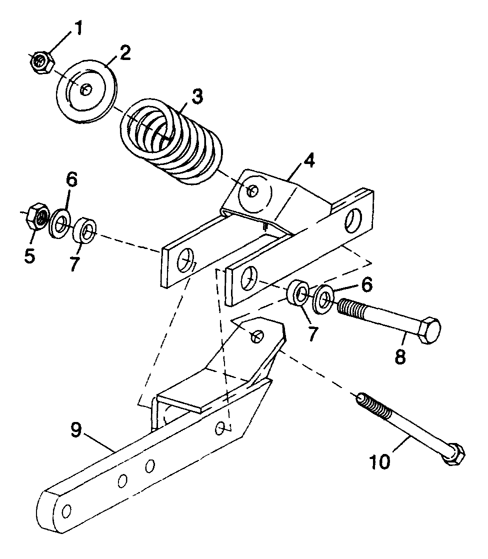
    Ref: 1  Part #: 2371  Price: $3.23

    Item: NUT, LOCK, 3/4 NC ZP

    QTY:  
    Ref: 2  Part #: 39097RP  Price: $20.32

    Item: WSHR .781X .38 X 4.12 SQR

    QTY:  
    Ref: 3  Part #: 13316RP  Price: $39.10

    Item: SPR/CMP3.00 .50 6.2

    QTY:  
    Ref: 4  Part #: 13266  Price: $158.84

    Item: WING YK OUTR ARM ASY

    QTY:  
    Ref: 4  Part #: 13267  Price: $159.02

    Item: WING YK OUTR ARM ASY

    QTY:  
    Ref: 5  Part #: 2371  Price: $3.23

    Item: NUT, LOCK, 3/4 NC ZP

    QTY:  
    Ref: 6  Part #: 2864  Price: $0.99

    Item: WASHER, FLAT, 3/4, ZINC-PLT STL

    QTY:  
    Ref: 7  Part #: 10083  Price: $9.09

    Item: BSHG 3/4 X 1-1/8 X 5/8 HT

    QTY:  
    Ref: 8  Part #: 2377  Price: $8.36

    Item: BOLT, HEX 3/4 NC X 6 GR5 ZP

    QTY:  
    Ref: 9  Part #: 20086  Price: $396.35

    Item: ASY, 320 RT SPRING YOKE INNER ARM

    QTY:  
    Ref: 9  Part #: 20087  Price: $486.57

    Item: ASY, 320 LT SPRING YOKE INNER ARM

    QTY:  
    Ref: 10  Part #: 20101  Price: $8.53

    Item: BOLT, 3/4 NC X 7-1/2 GR5

    QTY:  

    Our website uses cookie to give you the best online shopping experience. More information