WOODS RM660 Check Chains (Optional) Assembly

    WOODS >woods-rm660-rearmount-finish-mower-parts-check-chains-(optional)-assembly
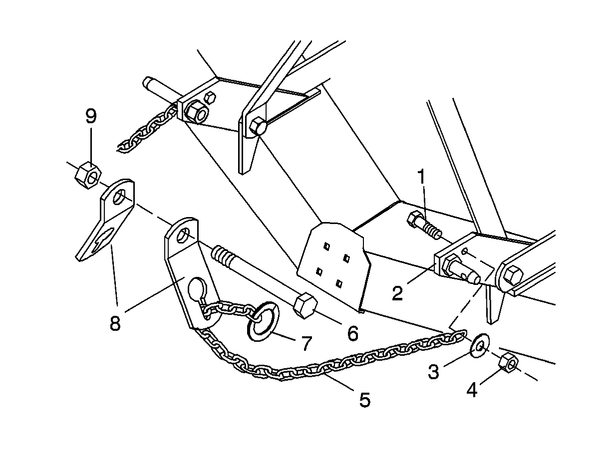
    Ref: 1  Part #: 5795  Price: Call for price

    Item: 7/16 NC x 1-1/2 Hex head cap screw GR5 (See note 1)

    QTY:  
    Ref: 2  Part #:   Price: $0.99

    Item: WDS-117

    QTY:  
    Ref: 3  Part #: 2210  Price: Call for price

    Item: 7/16 Standard flat washer (See note 2)

    QTY:  
    Ref: 4  Part #: W13921  Price: $1.72

    Item: NUT LOCK 7/16 NC

    QTY:  
    Ref: 5  Part #: 28998  Price: $9.86

    Item: 1/4PROOF COIL CHAIN32.56

    QTY:  
    Ref: 6  Part #: 2377  Price: $8.36

    Item: BOLT, HEX 3/4 NC X 6 GR5 ZP

    QTY:  
    Ref: 7  Part #: 5278  Price: $2.74

    Item: RING SNAP .048 X 2-1/4

    QTY:  
    Ref: 8  Part #: 23898  Price: $22.09

    Item: RM59ETC CHECK CHN BRKT W

    QTY:  
    Ref: 9  Part #: 2371  Price: $3.23

    Item: NUT, LOCK, 3/4 NC ZP

    QTY:  

    Our website uses cookie to give you the best online shopping experience. More information