WOODS S12ED 3-POINT HITCH EXTENSION Assembly

    WOODS >woods-s12ed-flail-shredder-parts-3-point-hitch-extension-assembly
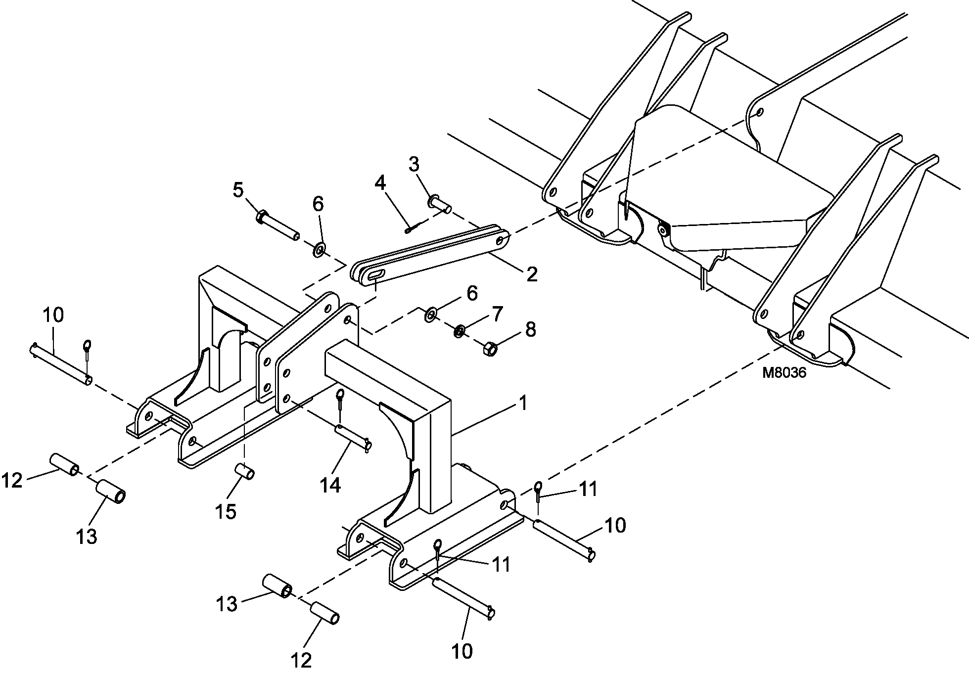
    Ref: 1  Part #: 1036021RP  Price: $1,500.07

    Item: HITCH EXTENSION

    QTY:  
    Ref: 2  Part #: 1036085RP  Price: $39.48

    Item: MAST LINK

    QTY:  
    Ref: 3  Part #: 46605  Price: $11.38

    Item: PIN, CLEVIS 1.00 X 2.26

    QTY:  
    Ref: 4  Part #: 6185  Price: $1.44

    Item: PIN, COTTER 1/4 X 2-1/4

    QTY:  
    Ref: 5  Part #: 1003606  Price: $10.18

    Item: BOLT, HEX 1 NC X 6 GR5 ZP

    QTY:  
    Ref: 6  Part #: 1863  Price: $2.13

    Item: WASHER, FLAT, 1 SAE ZP

    QTY:  
    Ref: 7  Part #: 3689  Price: $1.15

    Item: WASHER, LOCK, 1 STD D

    QTY:  
    Ref: 8  Part #: 3132  Price: $7.38

    Item: NUT, HEX, 1 NC ZP

    QTY:  
    Ref: 10  Part #: 20020553RP  Price: $50.95

    Item: ASSY,PIN LOWER 3PT HITCH

    QTY:  
    Ref: 11  Part #: 27542  Price: $6.22

    Item: PIN, KLIK HT 7/16 X 11/32

    QTY:  
    Ref: 12  Part #: 1036534  Price: $27.79

    Item: SLEEVE, 1.16 X 1.44 X 3.75

    QTY:  
    Ref: 13  Part #: 1036924  Price: $25.20

    Item: SLEEVE, 1.19 X 1.75 X 3.50

    QTY:  
    Ref: 14  Part #: 1036535RP  Price: $117.87

    Item: PIN, UPPER, 3PT

    QTY:  
    Ref: 15  Part #: 20030151  Price: $28.97

    Item: SPACER BUSHING, MAST SPACER 1 ID

    QTY:  

    Our website uses cookie to give you the best online shopping experience. More information