WOODS S260 DITCHBANK Slip Clutch Assembly

    WOODS >woods-s260-ditchbank-ditchbank-mower-parts-slip-clutch-assembly
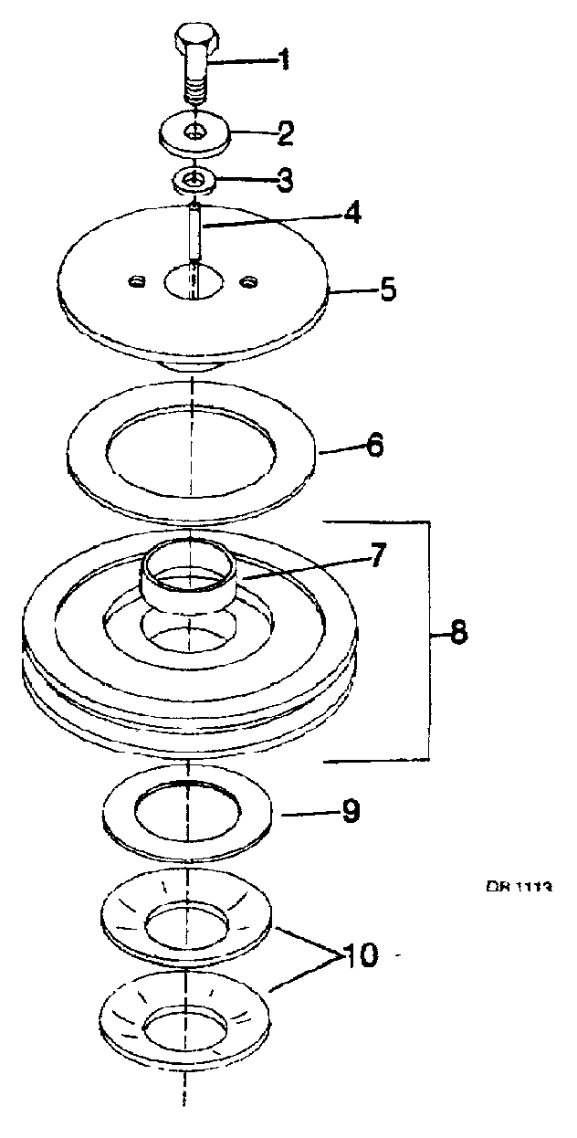
    Ref: 1  Part #: 16112  Price: $6.28

    Item: HHCS 1/2 NC X 1-1/4 NYLCK HT

    QTY:  
    Ref: 2  Part #: 29553  Price: $4.73

    Item: WSHR 1/2ID 1-5/8OD 1/4THICK

    QTY:  
    Ref: 3  Part #: 29053  Price: Call for price

    Item: 1/2 x 1-1/16 x 14 GA Shim washer

    QTY:  
    Ref: 4  Part #: W24549  Price: $4.05

    Item: 5/16 X 5/16 X 1-5/8 KEY

    QTY:  
    Ref: 5  Part #: 29554  Price: Call for price

    Item: Slip clutch hub

    QTY:  
    Ref: 6  Part #: 19459  Price: $28.79

    Item: FRICTION DISC 4 X 6.15

    QTY:  
    Ref: 7  Part #: 14511  Price: $34.63

    Item: BUSHING 2-1/16 X 2-5/16X5/8 BR

    QTY:  
    Ref: 8  Part #: 29297  Price: Call for price

    Item: 1 TC x 7.6 PD Sheave with bronze bushing

    QTY:  
    Ref: 9  Part #: 29558  Price: $4.75

    Item: SHIM 2-3/4ID 4OD 18GATHICK

    QTY:  
    Ref: 10  Part #: 29557  Price: $37.18

    Item: WSHR 2ID 4OD 12GATHICK CUP

    QTY:  

    Our website uses cookie to give you the best online shopping experience. More information