WOODS TCR68 ROTARY TILLER 1032606 - GEARBOX ASSEMBLY

    WOODS >woods-tcr68-rotary-tiller-parts-1032606---gearbox-assembly
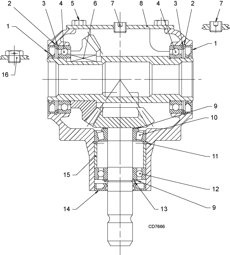
    Ref: A  Part #: 1032606  Price: $873.72

    Item: TC GEARBOX BLACK

    QTY:  
    Ref: 1  Part #: 1032437  Price: $33.02

    Item: SEAL 60MMX95MMX10MM

    QTY:  
    Ref: 2  Part #: 1032408  Price: $6.64

    Item: SNAP RING 95MMX98.5MMX3MM

    QTY:  
    Ref: 3  Part #: 1032409  Price: $11.72

    Item: SHIM KIT 85.3MMX94.7MM

    QTY:  
    Ref: 4  Part #: 1032445  Price: $45.96

    Item: BALL BEARING, 6012

    QTY:  
    Ref: 5  Part #: 1032446  Price: $3.05

    Item: HHCS M10X20 CL 8.8

    QTY:  
    Ref: 6  Part #: 1008155  Price: $8.65

    Item: KEY,TYPE B 14 MM X 9 MM X 35MM

    QTY:  
    Ref: 7  Part #: 27326  Price: $1.19

    Item: PLUG, PIPE 3/8 NPT

    QTY:  
    Ref: 8  Part #: 1032447  Price: $68.34

    Item: GEARBOX COVER

    QTY:  
    Ref: 9  Part #: 1007866  Price: $20.90

    Item: KIT GRBOX SHIM 35.3MM X 48MM

    QTY:  
    Ref: 10  Part #: 1032448  Price: $48.87

    Item: BEARING, TAPERED ROLLER 30207

    QTY:  
    Ref: 11  Part #: 57466  Price: $6.73

    Item: RETAINER, SNAP RING 72 X 75 X 2.5MM

    QTY:  
    Ref: 12  Part #: 20890  Price: $42.01

    Item: BEARING, BALL 32 X X72MM

    QTY:  
    Ref: 13  Part #: 1007859  Price: $3.14

    Item: SNAP RING 33MM X 35MM X 1.5MM

    QTY:  
    Ref: 14  Part #: 1032401  Price: $24.30

    Item: SEAL 35MMX72MMX10MM

    QTY:  
    Ref: 15  Part #: 1032604  Price: $27.12

    Item: SPACER 64.3MMX71.8MMX34.1MM

    QTY:  
    Ref: 16  Part #: 1032605  Price: $8.02

    Item: 3/8 NPT BREATHER PLUG

    QTY:  

    Our website uses cookie to give you the best online shopping experience. More information