Model added to My Equipment.Click 'My Equipment' to view updated list.
ACCESSORIES AND SERVICE PARTS T10500 ACCESSORIES AND SERVICE PARTS
BRAKE E00100 BRAKE
BRAKE E01500 PARKING BRAKE LEVER
BRAKE F20100 BRAKE PEDAL
CLUTCH C10100 CLUTCH
CLUTCH C11000 CLUTCH ROD
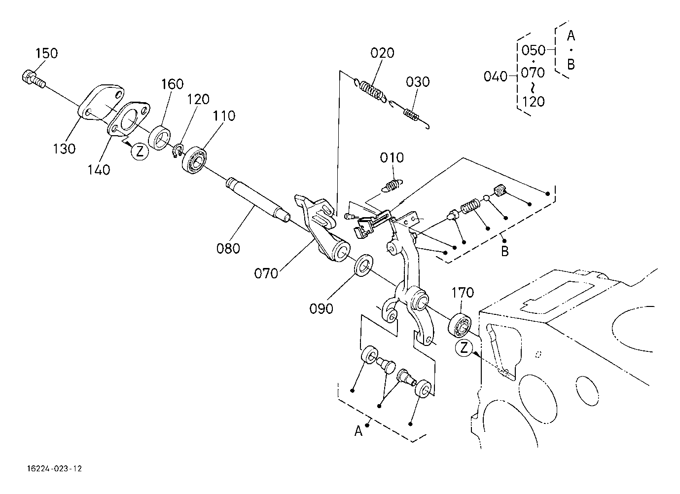
CLUTCH C30100 CLUTCH PEDAL
CLUTCH C40100 CLUTCH HOUSING
CLUTCH C41500 CENTER FRAME
COOLING WATER SYSTEM A40100 FAN
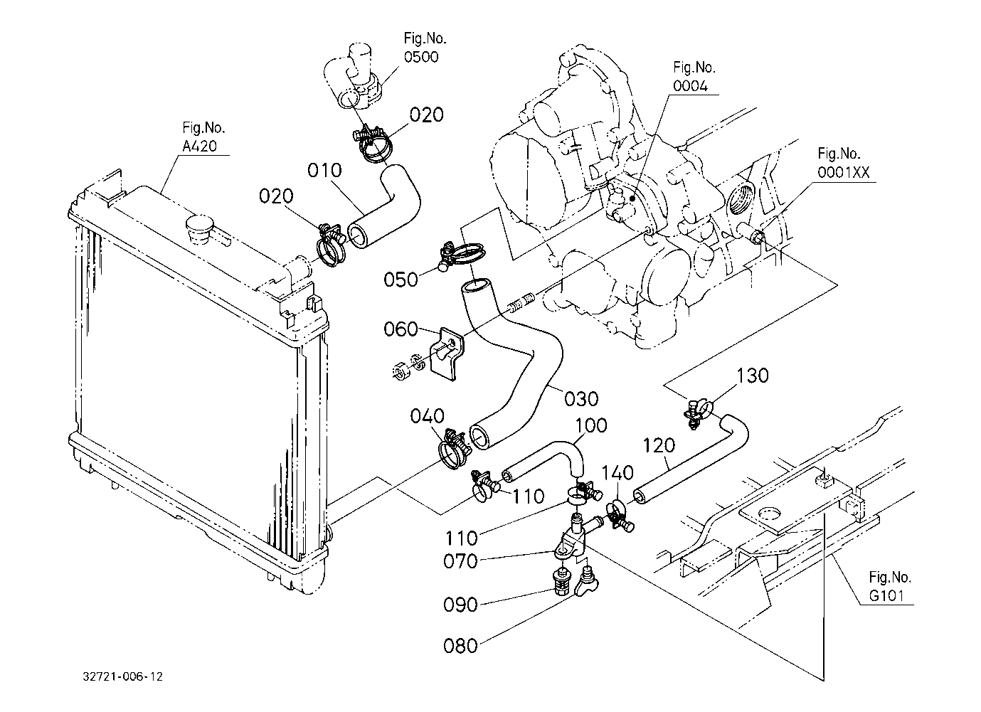
COOLING WATER SYSTEM A41000 WATER PIPE
COOLING WATER SYSTEM A42000 RADIATOR
ELECTRICAL SYSTEM A51000 STOP SOLENOID
ELECTRICAL SYSTEM A51500 ALTERNATOR
ELECTRICAL SYSTEM A52000 ALTERNATOR [COMPONENT PARTS](NOT FOR REMAN UNIT)
ELECTRICAL SYSTEM A52500 STARTER
ELECTRICAL SYSTEM A53000 STARTER [COMPONENT PARTS]
ELECTRICAL SYSTEM A53500 BATTERY
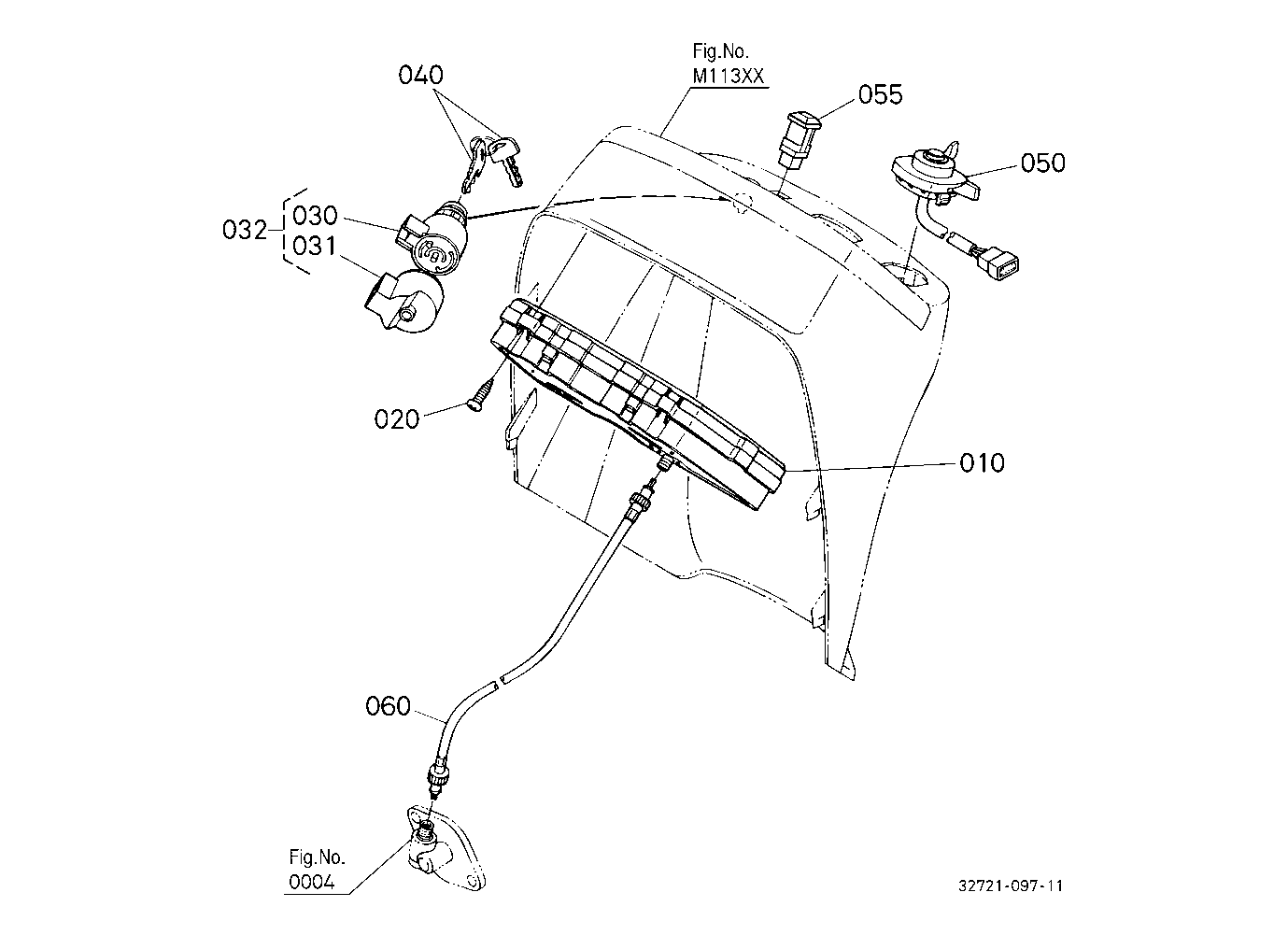
ELECTRICAL SYSTEM B10100 SWITCH
ELECTRICAL SYSTEM B11500 PANEL BOARD
ELECTRICAL SYSTEM B12000 PANEL BOARD [COMPONENT PARTS]
ELECTRICAL SYSTEM B30100 HEAD LIGHT
ELECTRICAL SYSTEM B30200 HAZARD LIGHT
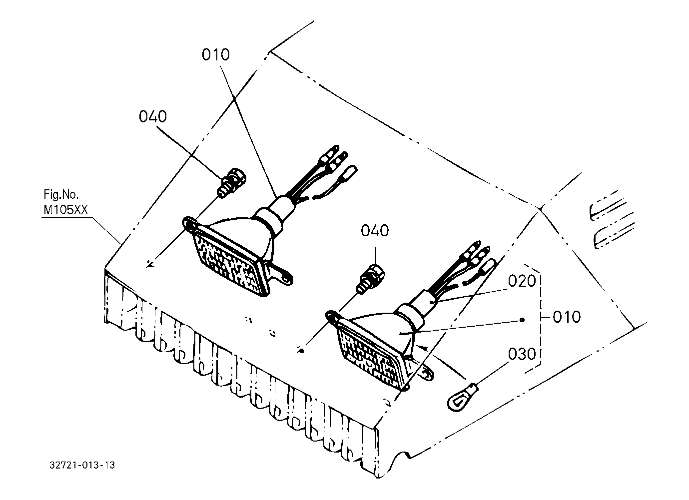
ELECTRICAL SYSTEM B30401 TAIL LIGHT
ELECTRICAL SYSTEM B30402 TAIL LIGHT
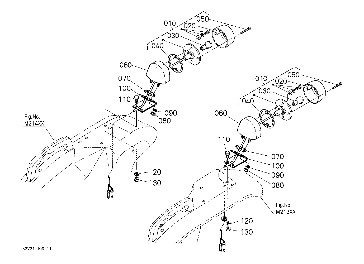
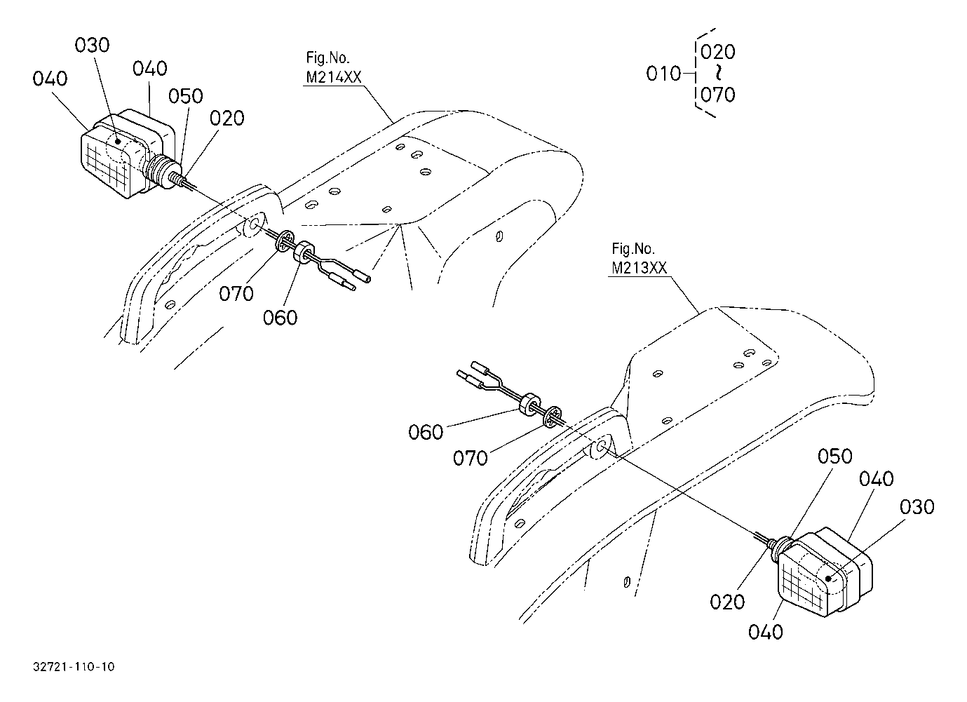
ELECTRICAL SYSTEM B31000 WINKER LAMP
ELECTRICAL SYSTEM B50100 ELECTRICAL WIRING
ENGINE 000101 CRANKCASE
ENGINE 000102 CRANKCASE
ENGINE 000200 OIL PAN
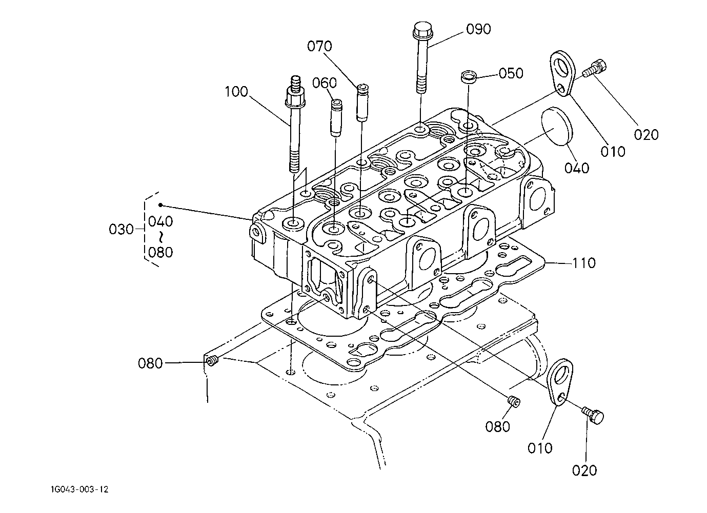
ENGINE 000300 CYLINDER HEAD
ENGINE 000400 GEAR CASE ## NOTE ORDER BY REF.No.010 and Fig.No.0501 REF.No.010,060 NEW PARTS.
ENGINE 000501 HEAD COVER
ENGINE 000502 HEAD COVER
ENGINE 000600 OIL FILTER
ENGINE 010000 MAIN BEARING CASE
ENGINE 010100 CAMSHAFT AND IDLE GEAR SHAFT
ENGINE 010200 PISTON AND CRANKSHAFT
ENGINE 010300 FLYWHEEL
ENGINE 010500 FUEL CAMSHAFT AND GOVERNOR SHAFT
ENGINE 020001 IDLE APPARATUS
ENGINE 020002 IDLE APPARATUS
ENGINE 020200 INJECTION PUMP
ENGINE 020401 GOVERNOR
ENGINE 020402 GOVERNOR
ENGINE 020403 GOVERNOR
ENGINE 020500 SPEED CONTROL PLATE
ENGINE 020601 NOZZLE HOLDER AND GLOW PLUG
ENGINE 020602 NOZZLE HOLDER AND GLOW PLUG
ENGINE 020701 NOZZLE HOLDER [COMPONENT PARTS]%
ENGINE 020702 NOZZLE HOLDER [COMPONENT PARTS]
ENGINE 030100 FUEL PUMP(MECHANICAL)
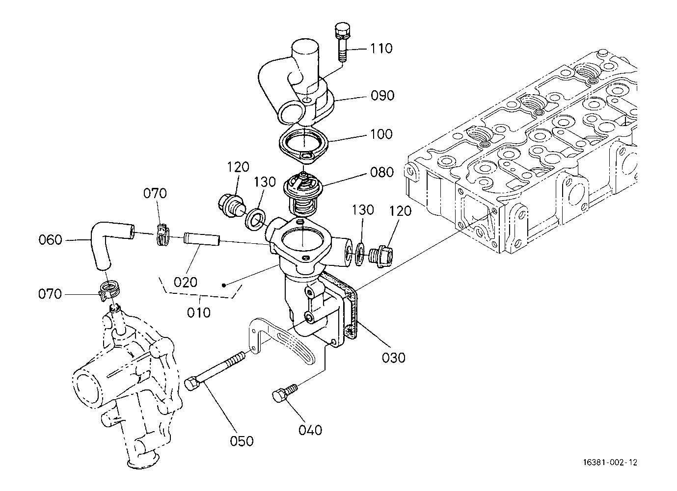
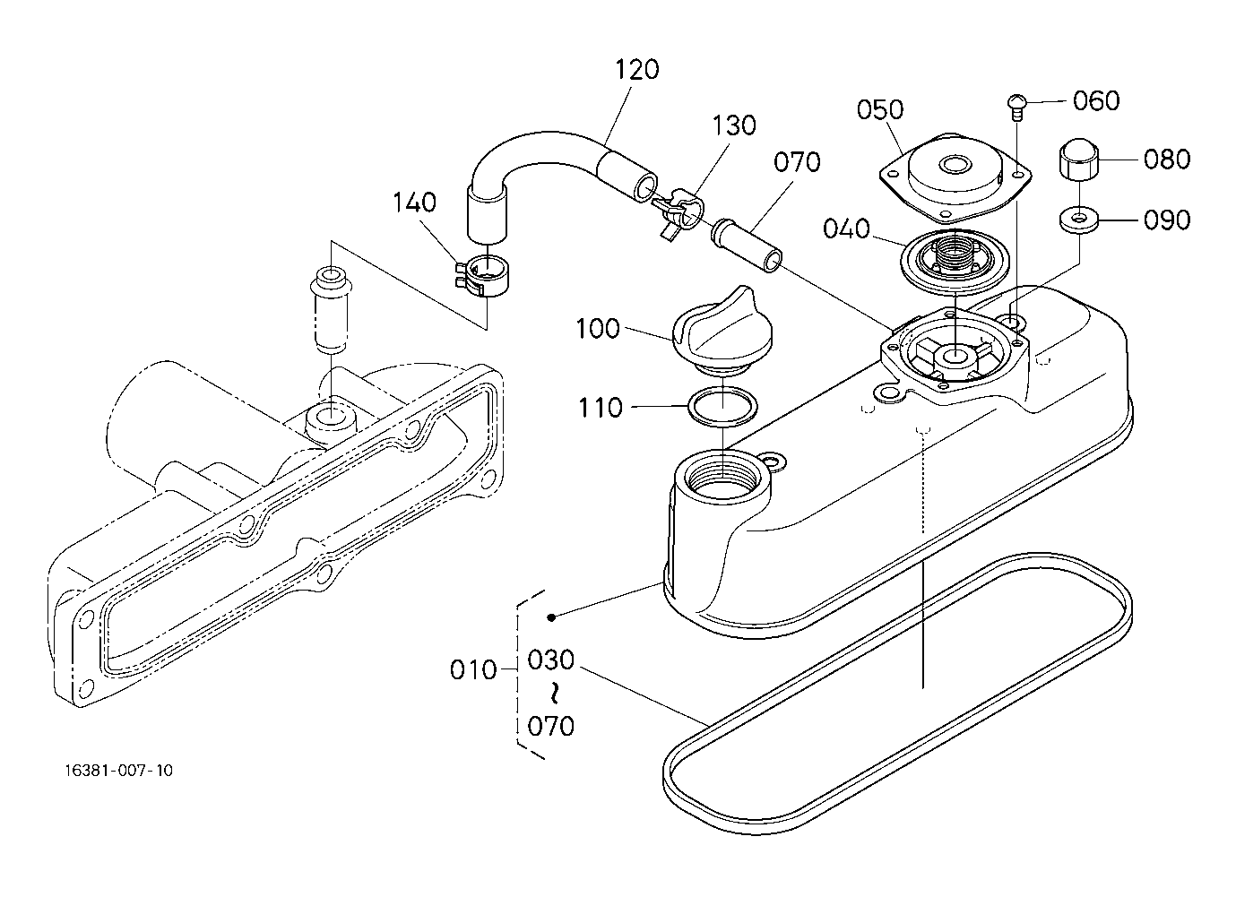
ENGINE 050000 WATER FLANGE AND THERMOSTAT
ENGINE 050100 WATER PUMP
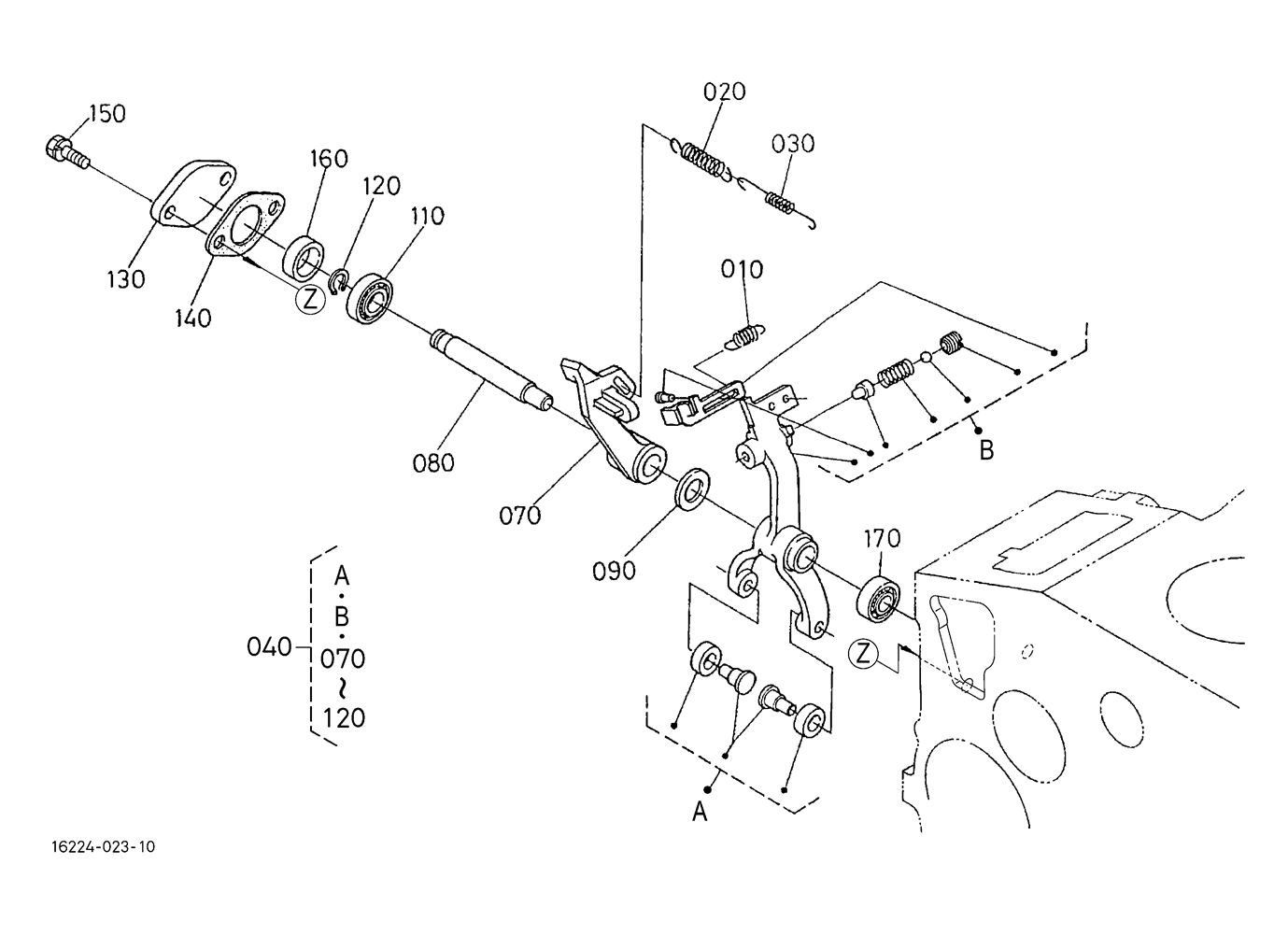
ENGINE 060000 VALVE AND ROCKER ARM ## NOTE ORDER BY REF.No.080 NEW PART and REF.No.090,110,130 NEW P
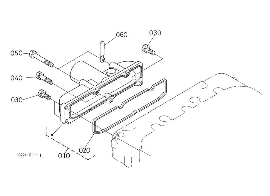
ENGINE 060101 INLET MANIFOLD
ENGINE 060102 INLET MANIFOLD
ENGINE 060200 EXHAUST MANIFOLD
ENGINE 060300 AIR CLEANER
ENGINE 060500 MUFFLER
ENGINE 090001 UPPER GASKET KIT
ENGINE 090002 UPPER GASKET KIT
ENGINE 090101 LOWER GASKET KIT
ENGINE 090102 LOWER GASKET KIT
ENGINE A00100 ACCELERATOR LEVER ## NOTE ORDER BY REF.No.060 NEW PART and Fig.No.F107 REF.No.140,150
FREQUENTLY USED ITEMS 000000 FREQUENTLY USED ITEMS
FRONT AXLE G10100 FRONT AXLE FRAME
FRONT AXLE G10500 FRONT AXLE CASE
FRONT AXLE G11500 FRONT DIFFERENTIAL
FRONT AXLE G12300 BEVEL GEAR CASE
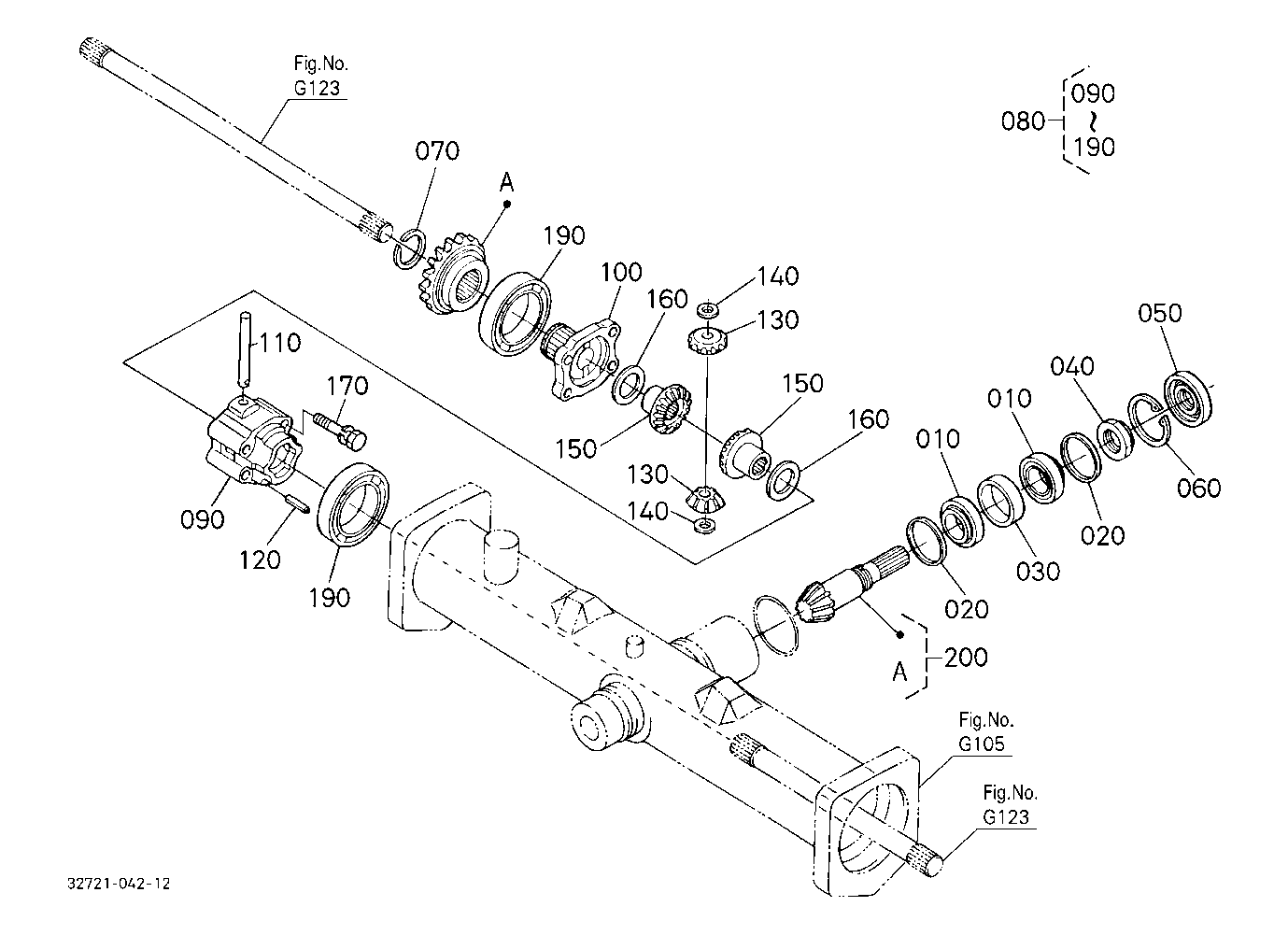
FRONT AXLE G13000 FRONT AXLE
FRONT AXLE G13500 FRONT DRIVE SHAFT
FRONT TIRE R10101 FRONT WHEEL(238.50-14R4)
FRONT TIRE R10102 FRONT WHEEL(248.50-14)
FUEL SYSTEM A10100 FUEL TANK ## NOTE ORDER BY REF.No.010 NEW PART and REF.No.070 and Fig.No.A11002 R
FUEL SYSTEM A11001 FUEL PIPE
FUEL SYSTEM A11002 FUEL PIPE
FUEL SYSTEM A13000 FUEL FILTER [COMPONENT PARTS]
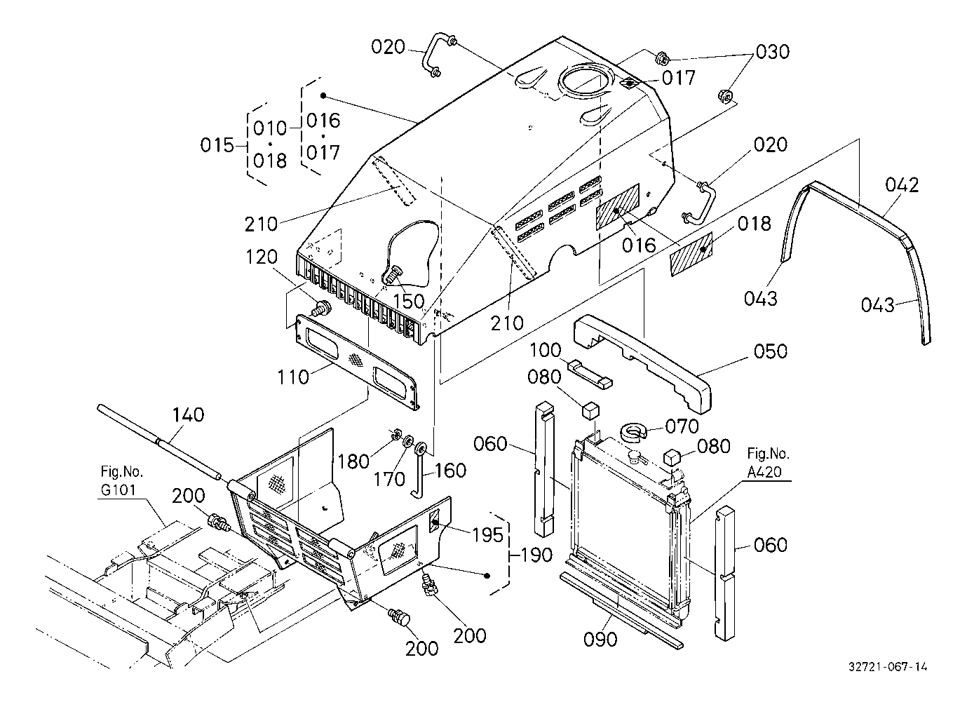
HOOD BONNET M10501 BONNET [EXCEPT [AU]]
HOOD BONNET M10502 BONNET [AU]
HOOD BONNET M11301 PANEL COVER SHUTTER PLATE [EXCEPT [AU]]
HOOD BONNET M11302 PANEL COVER SHUTTER PLATE [AU]
HOOD BONNET M21301 FENDER LH [EXCEPT [AU]]
HOOD BONNET M21302 FENDER LH [AU]
HOOD BONNET M21401 FENDER RH [EXCEPT [AU]]
HOOD BONNET M21402 FENDER RH [AU]
HOOD BONNET M22000 SEAT
HOOD BONNET M22200 SEAT TURN TABLE
HOOD BONNET M22300 BASE SEAT TURN TABLE
HOOD BONNET M22400 SEAT ADJUSTER
HOOD BONNET M22500 STEP
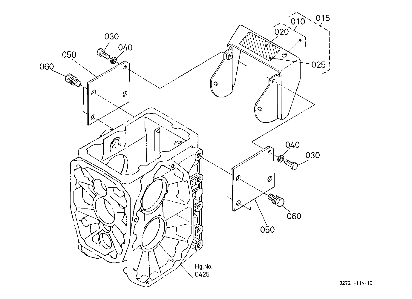
HOOD BONNET M23000 MAIN FLAME
HOOD BONNET M32001 ROPS FOPS
HOOD BONNET M32002 ROPS FOPS
HOOD BONNET M50100 SMV EMBLEM(BRACKET)
LABELS S10101 LABEL [A] [CA] [ENGLISH]
LABELS S10102 LABEL [A] [CA] [FRENCH]
LABELS S10103 LABEL [AU]
OPTION U80501 WORKING LIGHT KIT [OPTION]
OPTION U80502 WORKING LIGHT KIT [OPTION]
OPTION U80700 WIRE HARNESS KIT [OPTION] [AU]
OPTION U89000 DRAWBER KIT [OPTION]
PUMP MOTOR SYSTEM F14300 HYDRAULIC CONTROL LEVER
PUMP MOTOR SYSTEM F16700 HYDRAULIC CHANGE ROD
PUMP MOTOR SYSTEM J12000 HYDRAULIC PUMP
PUMP MOTOR SYSTEM J12500 HYDRAULIC PUMP [COMPONENT PARTS]
PUMP MOTOR SYSTEM J15000 OIL TANK
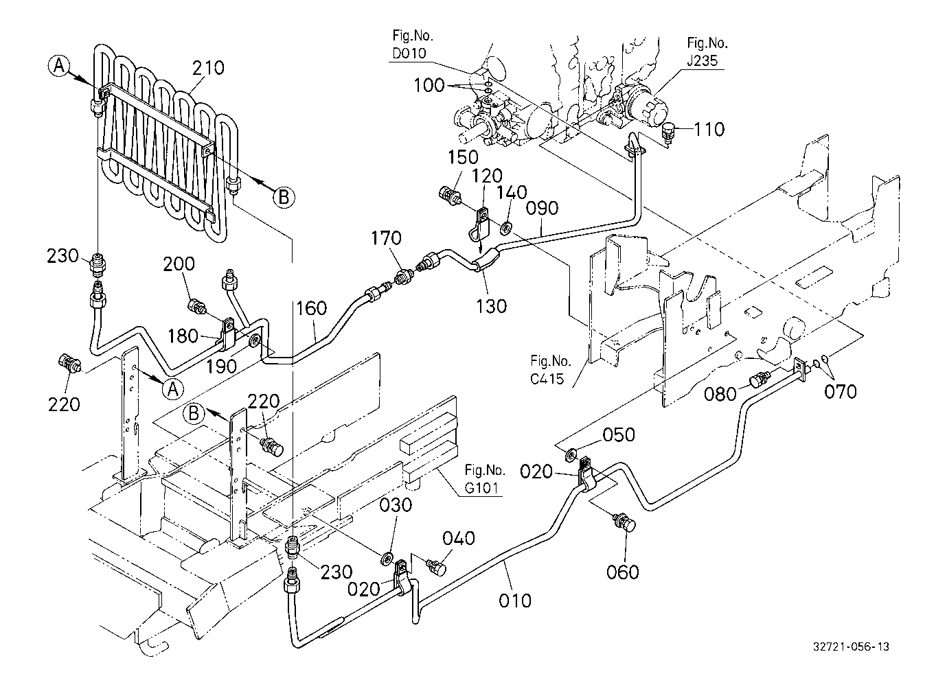
PUMP MOTOR SYSTEM J20100 HYDRAULIC OIL LINE(SUCTION)
PUMP MOTOR SYSTEM J20300 FLOW DIVIDER VALVE [COMPONENT PARTS]
PUMP MOTOR SYSTEM J21000 HYDRAULIC OIL LINE(DELIVERY)
PUMP MOTOR SYSTEM J21500 HYDRAULIC OIL LINE(STEERING)
PUMP MOTOR SYSTEM J21600 HYDRAULIC OIL LINE(BACKHOE)
PUMP MOTOR SYSTEM J23500 HYDRAULIC OIL LINE(HST)
PUMP MOTOR SYSTEM J24000 HYDRAULIC OIL LINE(OIL COOLER)
PUMP MOTOR SYSTEM J24500 HYDRAULIC OIL LINE(F M)
PUMP MOTOR SYSTEM J30100 HYDRAULIC CYLINDER
PUMP MOTOR SYSTEM J40500 CONTROL VALVE
PUMP MOTOR SYSTEM J41000 CONTROL VALVE [COMPONENT PARTS]
PUMP MOTOR SYSTEM J46000 HYDRAULIC OUTLET
PUMP MOTOR SYSTEM J46101 HYDRAULIC OUTLET [COMPONENT PARTS]
PUMP MOTOR SYSTEM J46102 HYDRAULIC OUTLET [COMPONENT PARTS]
PUMP MOTOR SYSTEM K10100 3-POINT LINKAGE 2(LIFT ROD)
REAR AXLE D30100 REAR AXLE
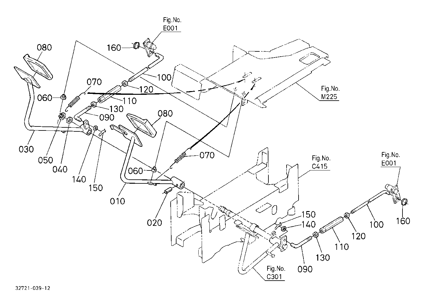
REAR AXLE F20500 DIFFERENTIAL LOCK PEDAL
REAR TIRE R11001 REAR WHEEL(12.4-16R4)
REAR TIRE R11002 REAR WHEEL(12.4-16)
REAR TIRE R11003 REAR WHEEL(13.6-16)
SPEED CHANGE D21700 RANGE GEAR SHIFT FORK
SPEED CHANGE F10700 NEUTRAL HOLDER LINK ## NOTE ORDER BY REF.No.140,150 NEW PARTS and Fig.No.A001 RE
SPEED CHANGE F10800 SPEED CONTROL PEDAL
SPEED CHANGE F11000 RANGE GEAR SHIFT LEVER ## NOTE ORDER BY REF.No.020 NEW PART and Fig.No.F111 REF.
SPEED CHANGE F11100 RANGE GEAR SHIFT ROD ## NOTE ORDER BY REF.No.050,070 NEW PARTS and Fig.No.F110 R
SPEED CHANGE F11300 FRONT WHEEL DRIVE LEVER
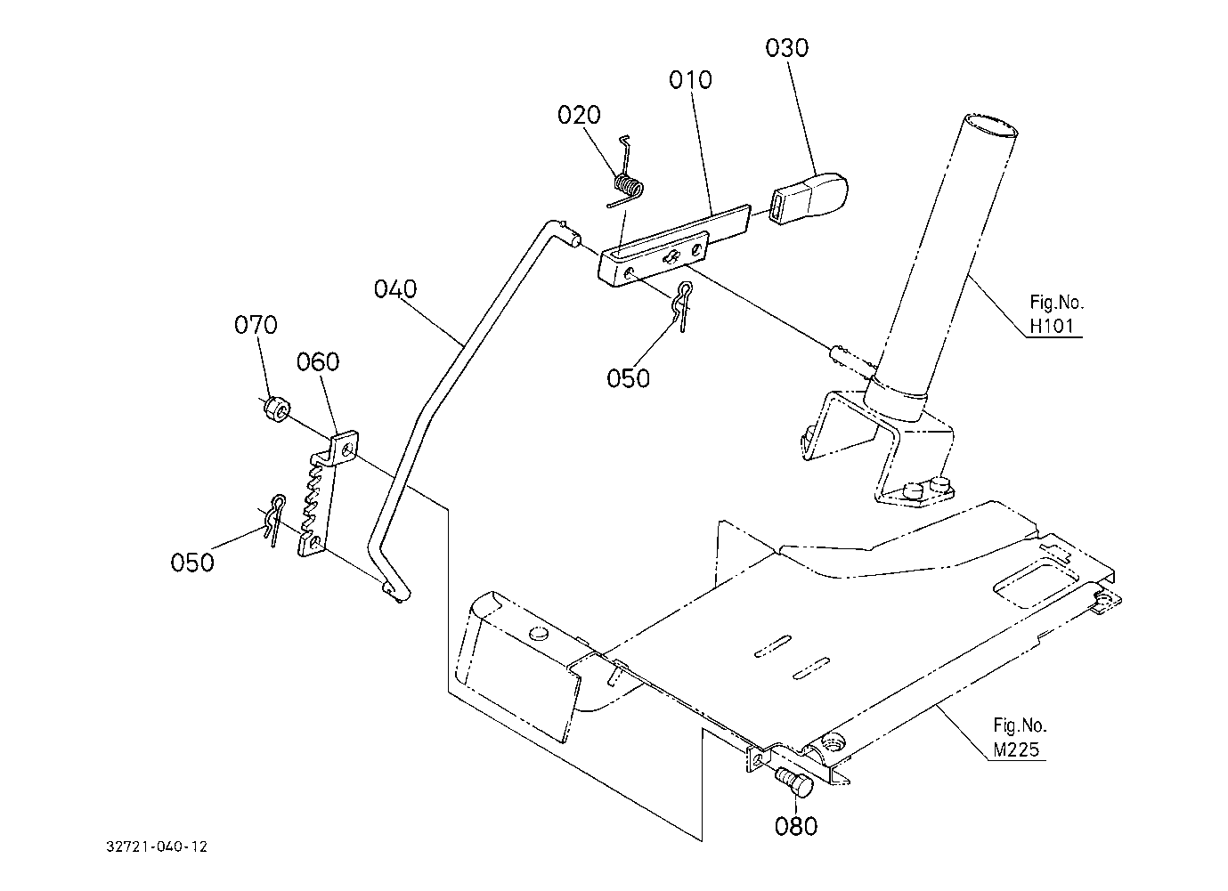
SPEED CHANGE F12500 PTO GEAR SHIFT LEVER ## NOTE ORDER BY REF.No.110 NEW PART and Fig.No.M225 REF.No
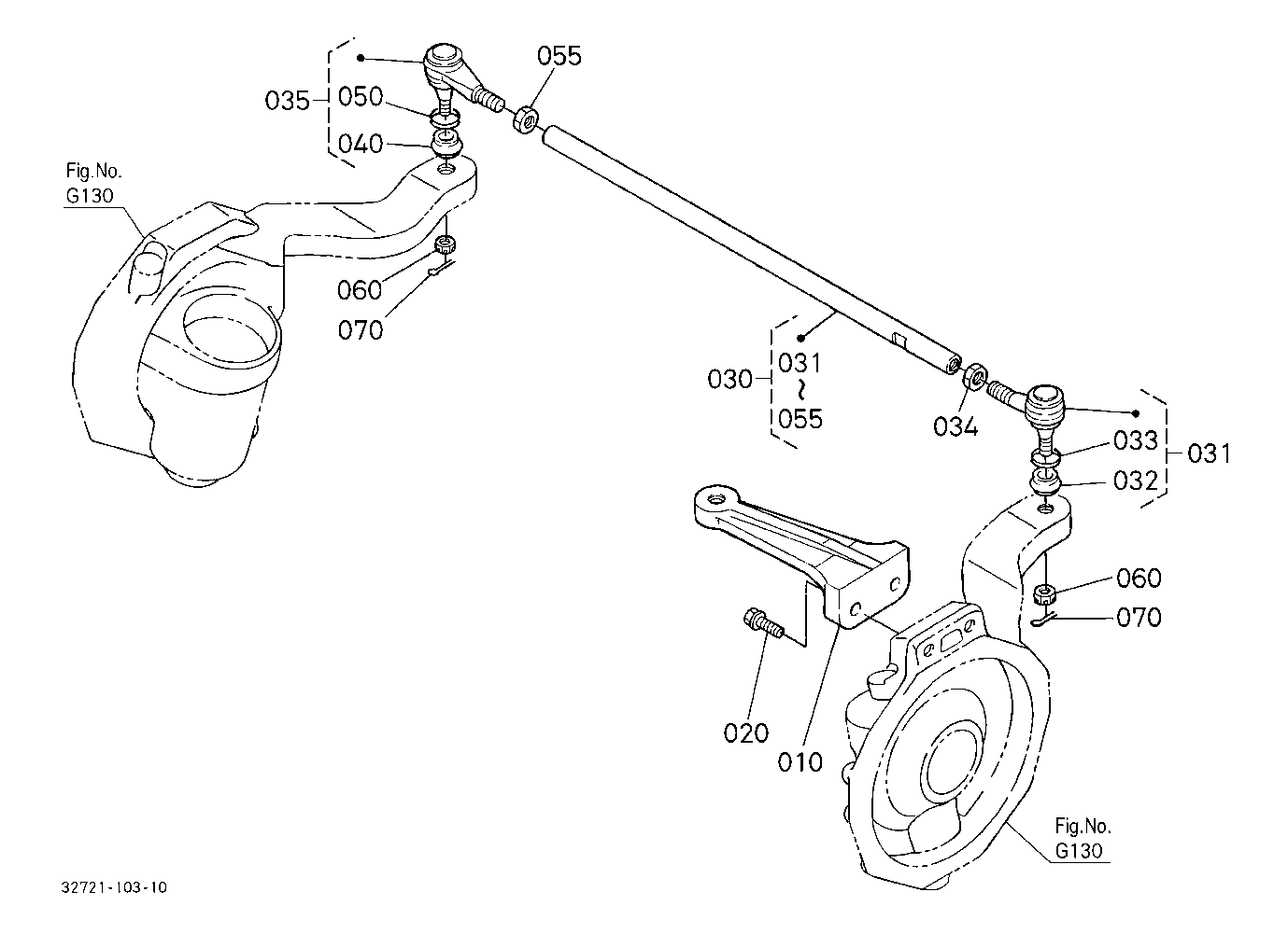
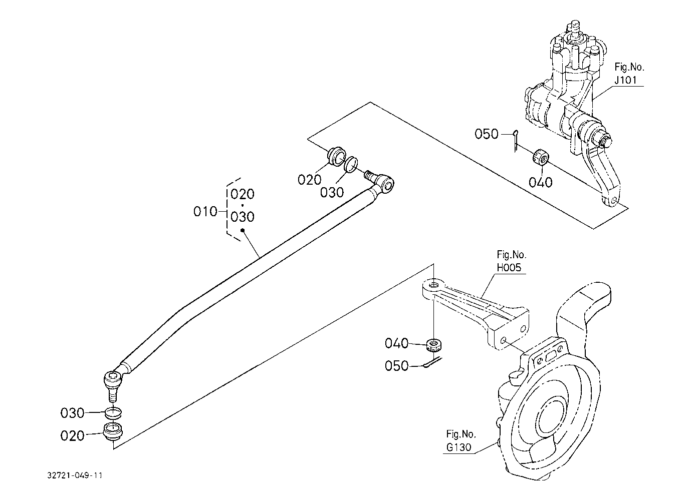
STEERING H00300 DRAG LINK
STEERING H00500 TIE ROD
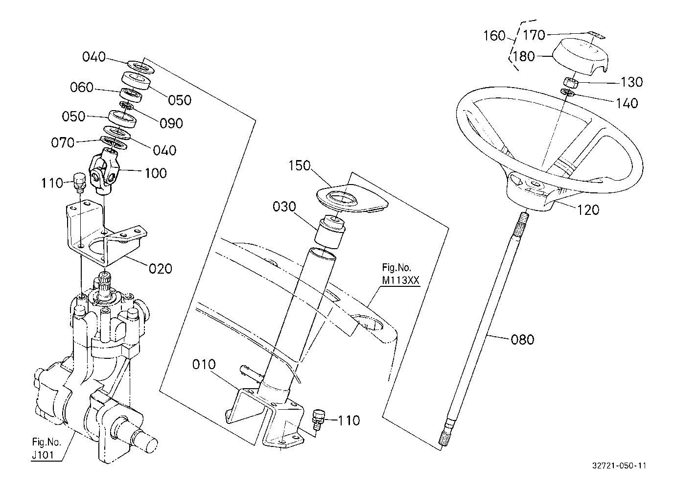
STEERING H10100 STEERING HANDLE
STEERING J10100 HYDRAULIC PUMP(PS)
STEERING J10501 HYDRAULIC PUMP(PS) [COMPONENT PARTS]
STEERING J10502 HYDRAULIC PUMP(PS) [COMPONENT PARTS]
TOP LINK TOP LINK BRACKET PTO PROTECTOR K11500 HITCH LOWER LINK
TOP LINK TOP LINK BRACKET PTO PROTECTOR K12000 3-POINT LINKAGE 1(TOP LINK)
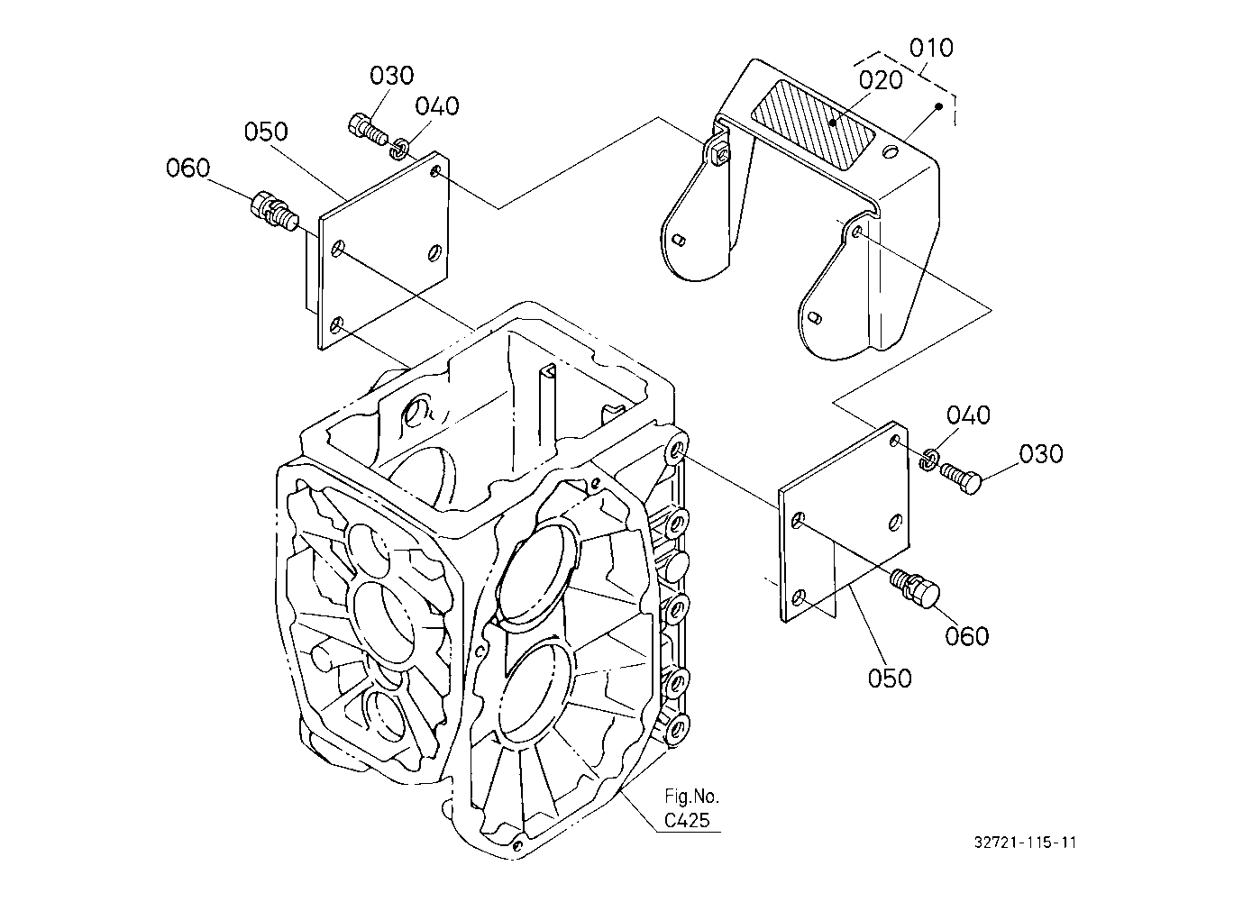
TOP LINK TOP LINK BRACKET PTO PROTECTOR L12501 PTO PROTECTOR [EXCEPT [AU]]
TOP LINK TOP LINK BRACKET PTO PROTECTOR L12502 PTO PROTECTOR [AU]
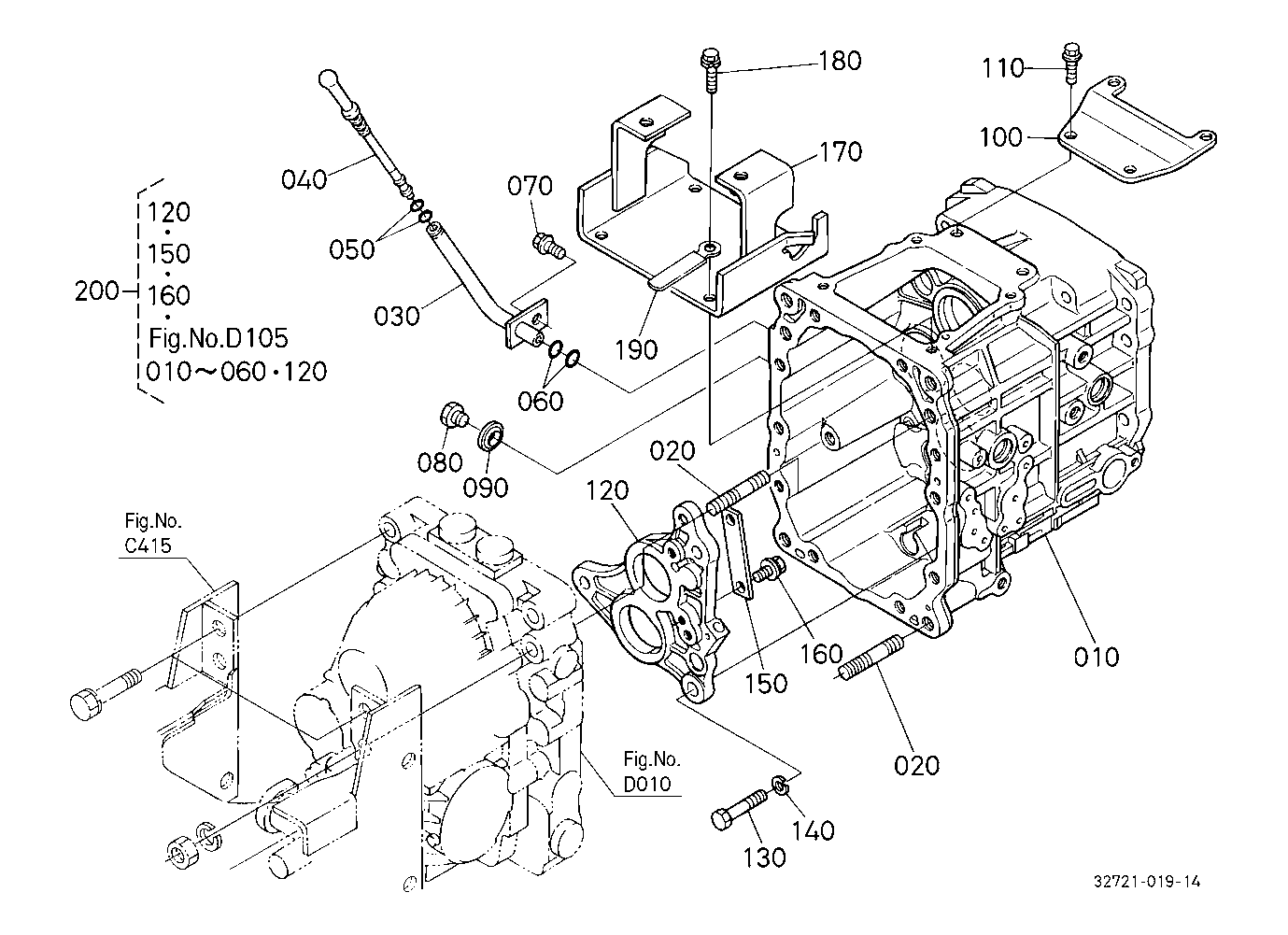
TRANSMISSION C42000 TRANSMISSION CASE
TRANSMISSION C42500 DIFFERENTIAL GEAR CASE
TRANSMISSION C42700 REAR AXLE CASE
TRANSMISSION D00100 CLUTCH SHAFT
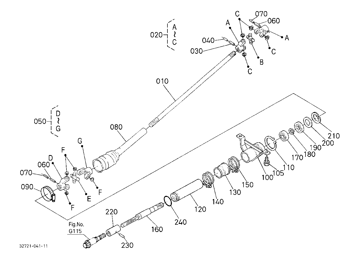
TRANSMISSION D00500 PROPELLER SHAFT
TRANSMISSION D01000 HST
TRANSMISSION D01501 HST [COMPONENT PARTS]
TRANSMISSION D01502 HST [COMPONENT PARTS]
TRANSMISSION D01503 HST [COMPONENT PARTS]
TRANSMISSION D10300 FRONT SHAFT
TRANSMISSION D10500 2ND SHAFT 3RD SHAFT 4TH SHAFT
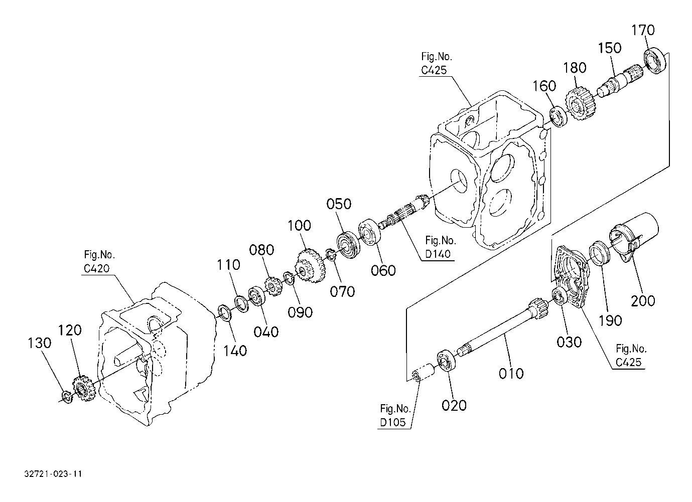
TRANSMISSION D13500 PTO SHAFT
TRANSMISSION D14000 REAR DIFFERENTIAL
TRANSMISSION D14300 FRONT WHEEL PROPELLER SHAFT
USEFUL PRODUCTS 000010 USEFUL PRODUCTS
New to our website?Creating an account is easy and quick!
Our website uses cookie to give you the best online shopping experience. More information Accept