KUBOTA B21 PARTS PUMP MOTOR SYSTEM F16700 HYDRAULIC CHANGE ROD

    KUBOTA >kubota-b21-parts-pump-motor-system-f16700-hydraulic-change-rod
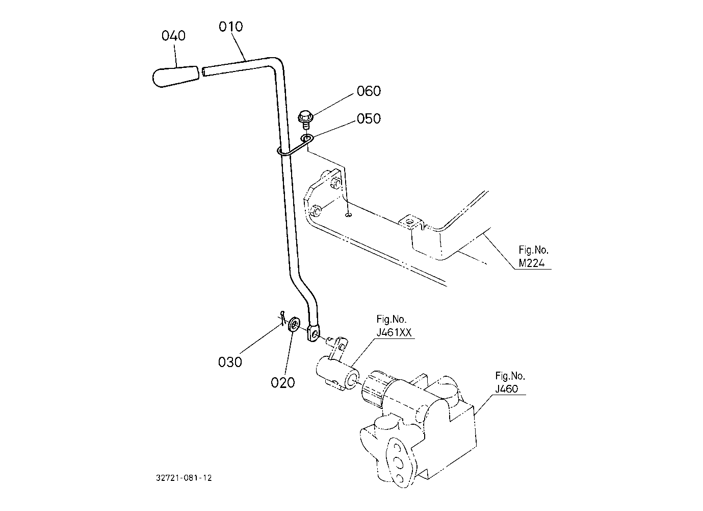
    Ref: 010  Part #: 32721-38510  Price: $16.48

    Item: ROD ***

    QTY:  
    Ref: 020  Part #: 04013-70060  Price: $0.99

    Item: WASHER,PLAIN *

    QTY:  
    Ref: 030  Part #: 05511-51615  Price: $0.99

    Item: PIN, SPLIT ***

    QTY:  
    Ref: 040  Part #: 31391-18560  Price: $1.72

    Item: GRIP, LEVER

    QTY:  
    Ref: 050  Part #: 32751-36950  Price: $13.44

    Item: GUIDE

    QTY:  
    Ref: 060  Part #: 01754-50816  Price: $2.86

    Item: BOLT M8x1.25x16 mm ***

    QTY:  

    Our website uses cookie to give you the best online shopping experience. More information