Model added to My Equipment.Click 'My Equipment' to view updated list.
ACCESSORIES N00000 ACCESSORIES
CONTROL LEVER D10000 CONTROL LEVER (LEVER LH)
CONTROL LEVER D20000 CONTROL LEVER (LEVER RH)
CONTROL LEVER D20100 PILOT VALVE (COMPONENT PARTS)
CONTROL LEVER D30000 CONTROL LEVER (TRAVEL LH 1)
CONTROL LEVER D30100 CONTROL LEVER (TRAVEL LH 2)
CONTROL LEVER D40000 CONTROL LEVER (TRAVEL RH 1)
CONTROL LEVER D40100 CONTROL LEVER (TRAVEL RH 2)
CONTROL LEVER D40500 CONTROL LEVER (TRAVEL LOCK)
CONTROL LEVER D50000 CONTROL TRAVEL PEDAL
CONTROL LEVER D60000 CONTROL LEVER (SAFETY LOCK LEVER)
CONTROL LEVER D70000 CONTROL PEDAL (SWIVEL SWING CHANGE 1)
CONTROL LEVER D70200 CONTROL PEDAL (SWIVEL SWING CHANGE 2)
CONTROL LEVER D70500 TPSS LEVER
CONTROL LEVER D80000 CONTROL LEVER (BLADE)
CONTROL LEVER D90000 CONTROL LEVER (S P)
CONTROL VALVE C60000 CONTROL VALVE
CONTROL VALVE C60100 CONTROL VALVE (COMPONENT PARTS)
CONTROL VALVE C60201 SPOOL SECTION (SWIVEL)
CONTROL VALVE C60202 SPOOL SECTION (SWING)
CONTROL VALVE C60203 SPOOL SECTION (BLADE)
CONTROL VALVE C60204 SPOOL SECTION (TRAVEL STRAIGHT)
CONTROL VALVE C60205 SPOOL SECTION (S P)
CONTROL VALVE C60206 SPOOL SECTION (ARM)
CONTROL VALVE C60207 SPOOL SECTION (TRAVEL LH)
CONTROL VALVE C60208 SPOOL SECTION (TRAVEL RH)
CONTROL VALVE C60209 SPOOL SECTION (BOOM)
CONTROL VALVE C60210 SPOOL SECTION (BOOM LOCK)
CONTROL VALVE C60211 SPOOL SECTION (BUCKET)
CONTROL VALVE C70400 CHANGE VALVE
CONTROL VALVE C70500 CHANGE VALVE (COMPONENT PARTS)
CONTROL VALVE C90000 TPSS VALVE
CONTROL VALVE C90100 TPSS VALVE (COMPONENT PARTS)
CYLINDER F00000 BOOM CYLINDER AND COMPONENT PARTS ## S.No.; TO 20496
CYLINDER F00001 BOOM CYLINDER AND COMPONENT PARTS ## S.No.; FROM 20497
CYLINDER F10000 ARM CYLINDER AND COMPONENT PARTS
CYLINDER F20001 BUCKET CYLINDER AND COMPONENT PARTS
CYLINDER F20002 BUCKET CYLINDER AND COMPONENT PARTS(TELESCOPIC)
CYLINDER F30000 BLADE CYLINDER AND COMPONENT PARTS
CYLINDER F40000 SWING CYLINDER AND COMPONENT PARTS
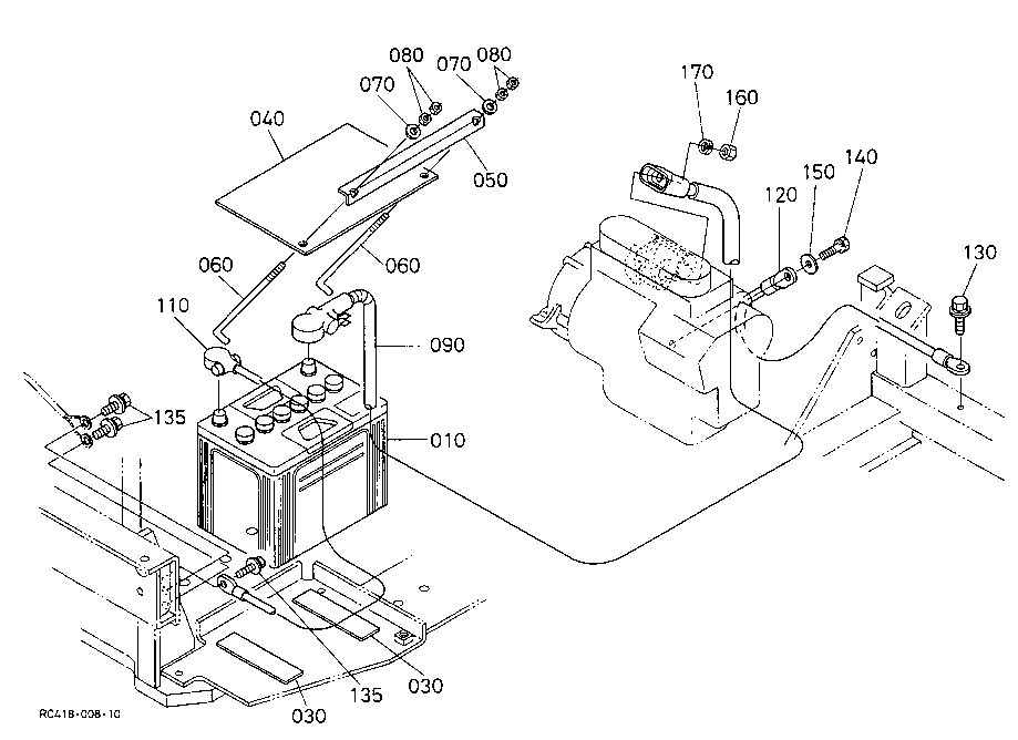
ELECTRICAL SYSTEM B40000 BATTERY
ELECTRICAL SYSTEM B40200 TIMER AND HORN
ELECTRICAL SYSTEM B40400 SWITCH AND METER
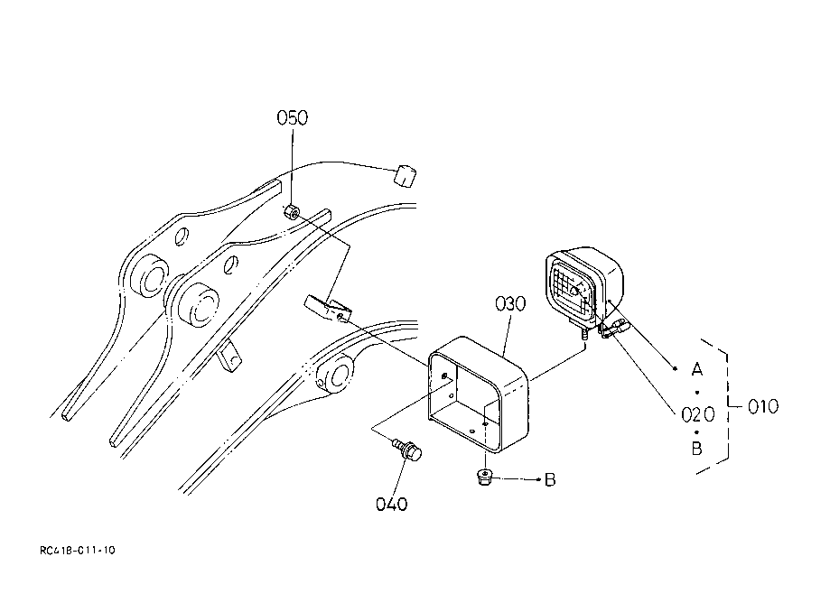
ELECTRICAL SYSTEM B40600 LIGHT
ELECTRICAL SYSTEM B40800 ELECTRICAL WIRING
ENGINE 000100 CRANK CASE
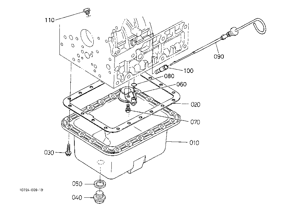
ENGINE 000200 OIL PAN
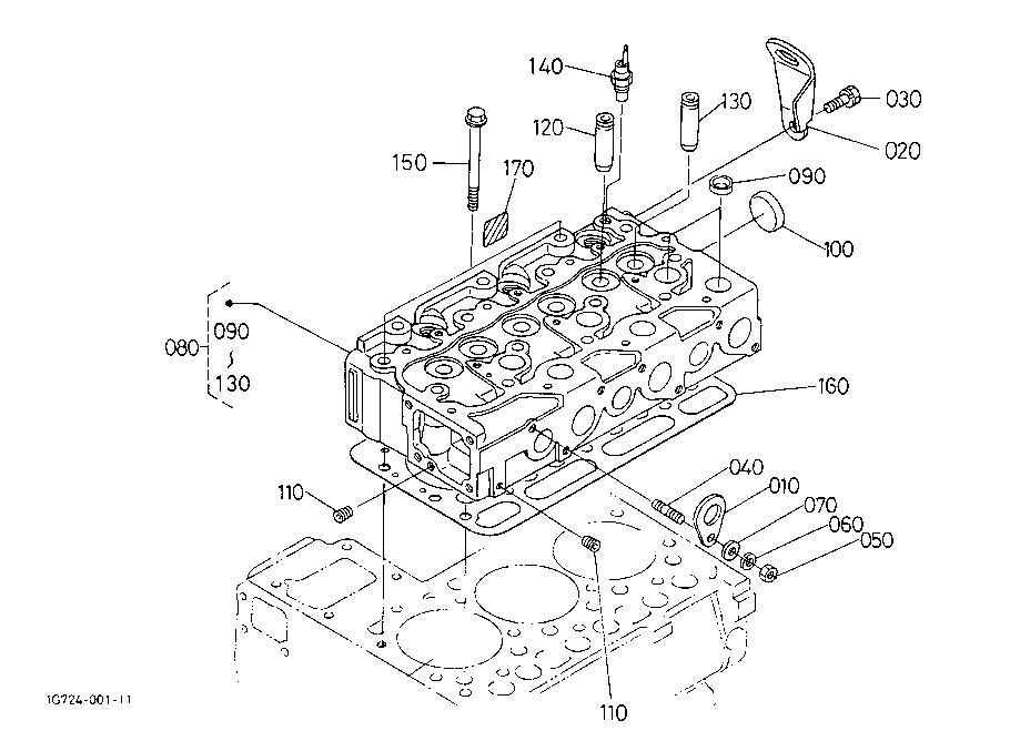
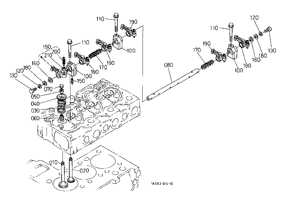
ENGINE 000300 CYLINDER HEAD
ENGINE 000400 GEAR CASE
ENGINE 000500 HEAD COVER ## [D1503-M-EBH-2 S.No.; TO 3Z9999]
ENGINE 000501 HEAD COVER ## [D1503-M-E2BH-2 S.No.; FROM 4A0001]
ENGINE 003000 ENGINE BRACKET
ENGINE 010000 MAIN BEARING CASE
ENGINE 010001 MAIN BEARING CASE
ENGINE 010100 CAMSHAFT AND IDLE GEAR SHAFT
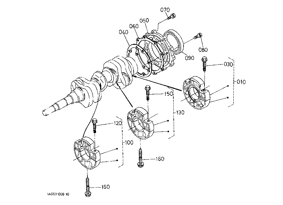
ENGINE 010200 PISTON AND CRANKSHAFT
ENGINE 010201 PISTON AND CRANKSHAFT
ENGINE 010300 FLYWHEEL
ENGINE 010500 FUEL CAMSHAFT AND GOVERNOR SHAFT
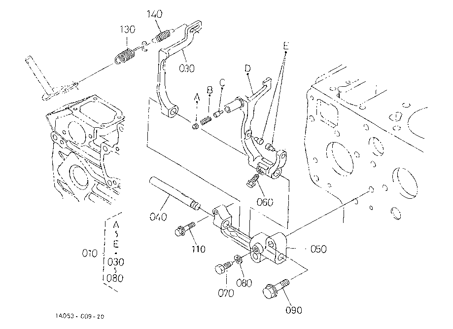
ENGINE 020000 ENGINE STOP LEVER
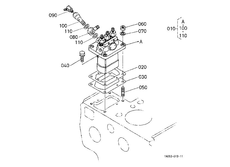
ENGINE 020200 INJECTION PUMP
ENGINE 020400 GOVERNOR
ENGINE 020500 SPEED CONTROL PLATE
ENGINE 020600 NOZZLE HOLDER AND GLOW PLUG
ENGINE 041300 ALTERNATOR
ENGINE 041400 ALTERNATOR (COMPONENT PARTS)
ENGINE 041600 STARTER
ENGINE 041700 STARTER (COMPONENT PARTS)
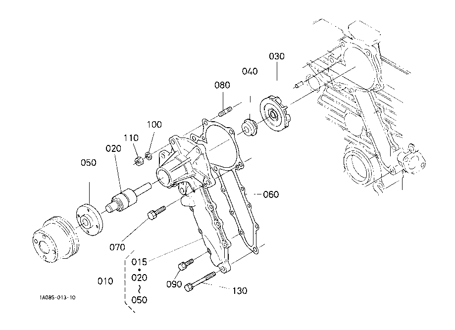
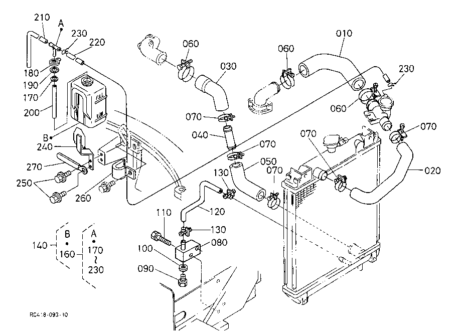
ENGINE 050000 WATER FLANGE AND THERMOSTAT
ENGINE 050100 WATER PUMP
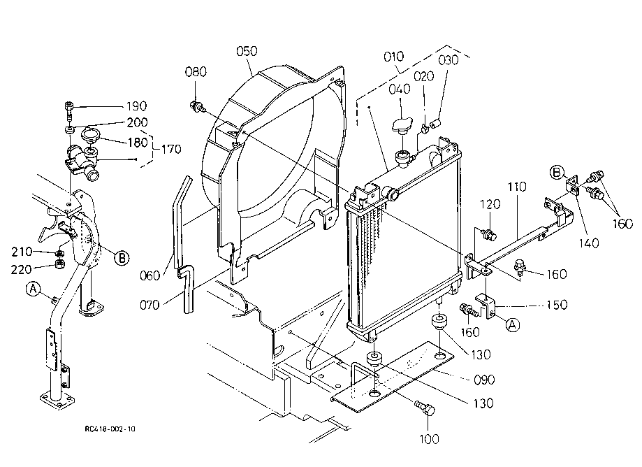
ENGINE 051100 RADIATOR
ENGINE 051300 WATER PIPE
ENGINE 060000 VALVE AND ROCKER ARM
ENGINE 061000 INLET MANIFOLD ## [D1503-M-EBH-2 S.No.; TO 3Z9999]
ENGINE 061001 INLET MANIFOLD ## [D1503-M-E2BH-2 S.No.; FROM 4A0001]
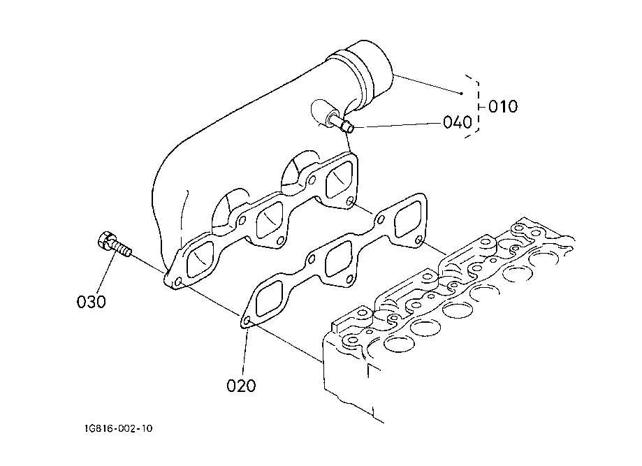
ENGINE 061200 EXHAUST MANIFOLD
ENGINE 061400 AIR CLEANER
ENGINE 061600 MUFFLER
ENGINE 090001 GASKET KIT
ENGINE 090002 GASKET KIT
EXTERNAL UPHOLSTERY K10200 BONNET RH
EXTERNAL UPHOLSTERY K10300 BONNET REAR
FREQUENTLY USED ITEMS 000000 FREQUENTLY USED ITEMS
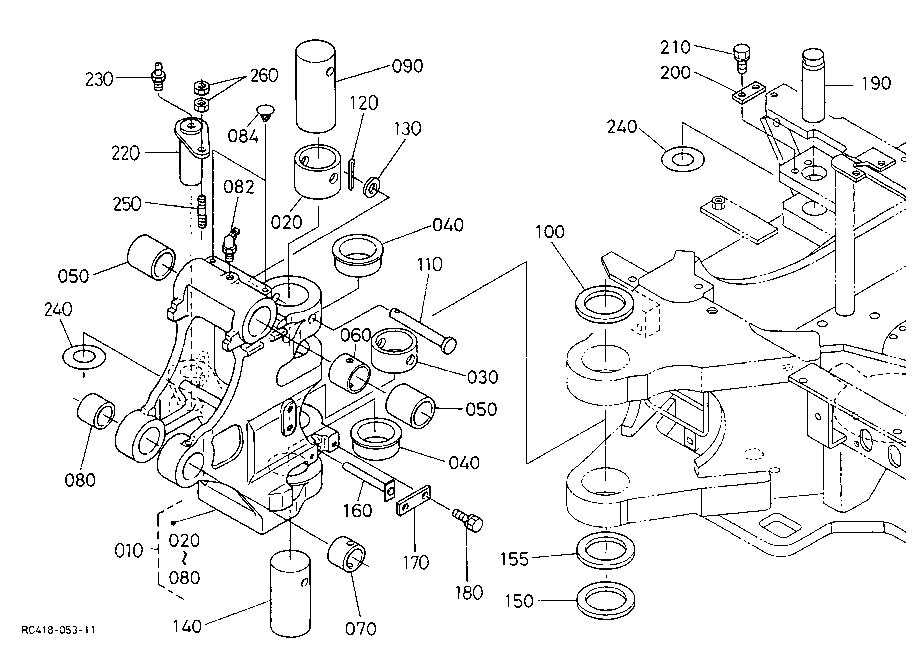
FRONT ATTACHMENTS G00000 SWING BRACKET
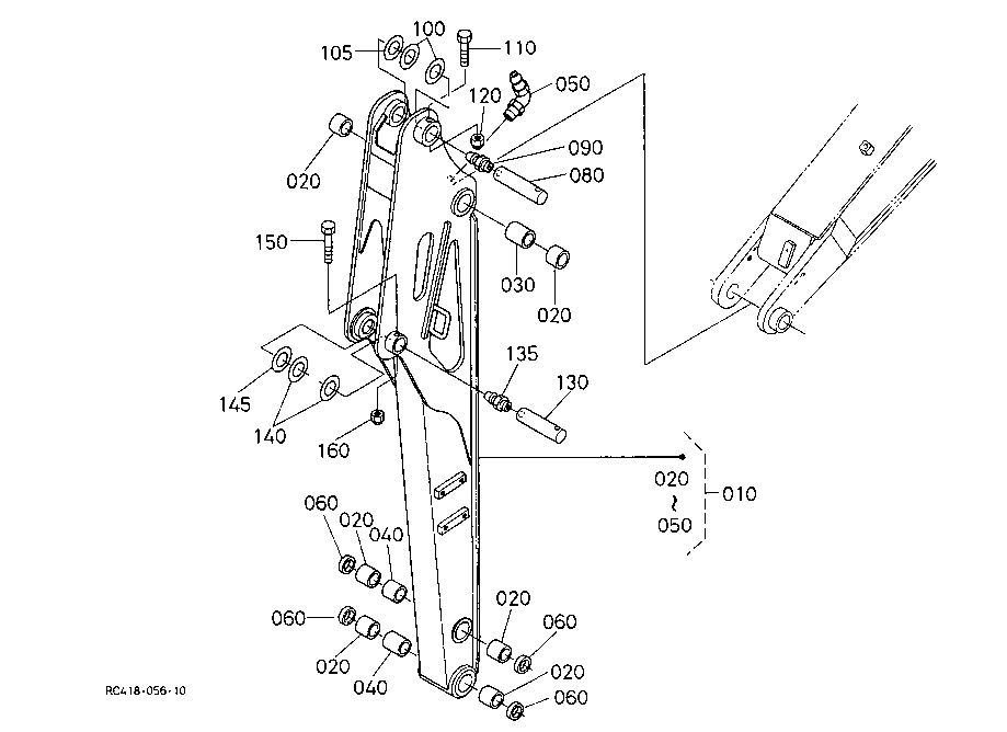
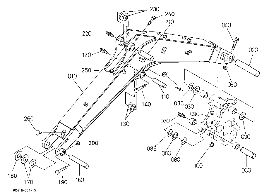
FRONT ATTACHMENTS G10000 BOOM
FRONT ATTACHMENTS G10400 CYLINDER COVER (BOOM)
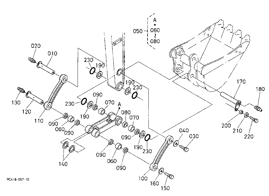
FRONT ATTACHMENTS G20000 ARM
FRONT ATTACHMENTS G20100 ARM (TELESCOPIC)
FRONT ATTACHMENTS G20200 TELESCOPIC CYLINDER(TELESCOPIC)
FRONT ATTACHMENTS G30000 BUCKET LINK
FRONT ATTACHMENTS G30100 BUCKET LINK (TELESCOPIC)
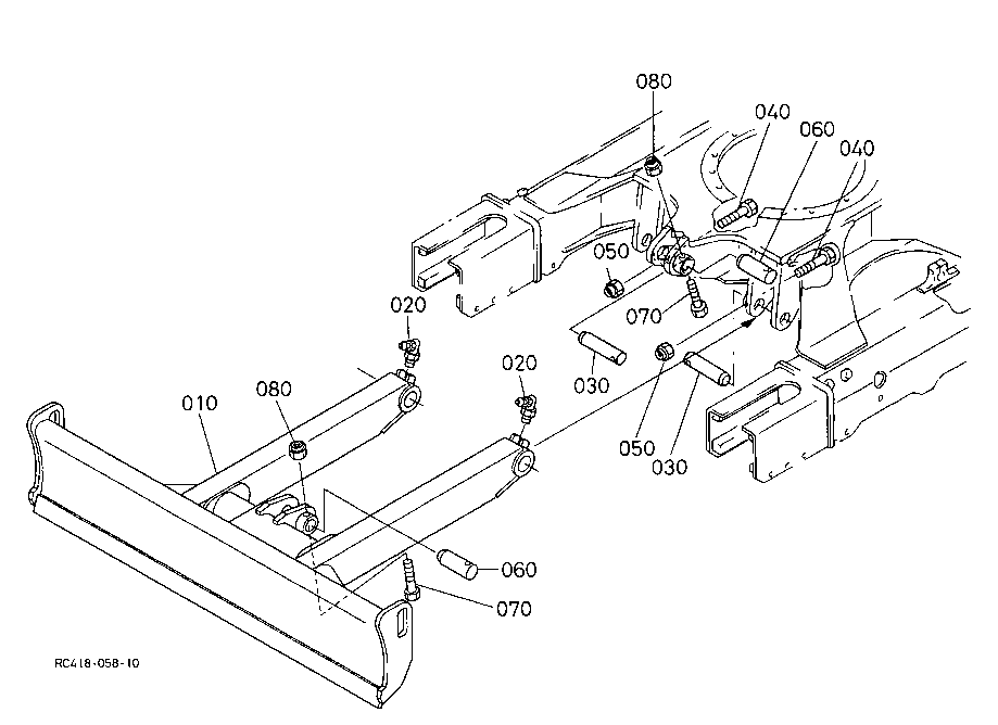
FRONT ATTACHMENTS G50000 BLADE
FUEL SYSTEM A20000 ACCEL LEVER
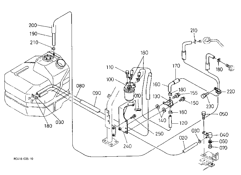
FUEL SYSTEM A30000 FUEL PIPING
FUEL SYSTEM A30100 FUEL FILTER (COMPONENT PARTS)
FUEL SYSTEM A30300 FUEL TANK
HYDRAULIC SYSTEM C20000 PISTON PUMP(COMPONENT PARTS)
HYDRAULIC SYSTEM E00000 OIL PIPING (SUCTION)
HYDRAULIC SYSTEM E00401 OIL PIPING (RETURN 1)
HYDRAULIC SYSTEM E00402 OIL PIPING (RETURN 2)
HYDRAULIC SYSTEM E00600 OIL PIPING (OIL COOLER)
HYDRAULIC SYSTEM E10000 OIL PIPING (CONTROL LH)
HYDRAULIC SYSTEM E10200 OIL PIPING (CONTROL RH)
HYDRAULIC SYSTEM E20000 OIL PIPING (TRAVEL LH)
HYDRAULIC SYSTEM E20200 OIL PIPING (TRAVEL RH)
HYDRAULIC SYSTEM E20400 OIL PIPING (SWIVEL)
HYDRAULIC SYSTEM E30000 OIL PIPING (SWING)
HYDRAULIC SYSTEM E30400 OIL PIPING (BOOM)
HYDRAULIC SYSTEM E40000 OIL PIPING (ARM)
HYDRAULIC SYSTEM E50000 OIL PIPING (BUCKET)
HYDRAULIC SYSTEM E60000 OIL PIPING (BLADE)
HYDRAULIC SYSTEM E70000 OIL PIPING (CLAMP)
HYDRAULIC SYSTEM E80000 OIL PIPING (S P)
LABELS M00000 LABEL
OIL PIPING E00200 OIL PIPING (DELIVERY)
OPERATORS PLATFORM L00000 CANOPY
OPERATORS PLATFORM L10000 CABIN (BODY)
OPERATORS PLATFORM L20000 CABIN (DOOR)
OPERATORS PLATFORM L20100 CABIN (DOOR LOCK)
OPERATORS PLATFORM L30000 CABIN (WINDOW)
OPERATORS PLATFORM L30100 CABIN (WINDOW FRONT)
OPERATORS PLATFORM L40200 CABIN (SEAL RUBBER)
OPERATORS PLATFORM L50000 CABIN (WIPER MOTOR)
OPERATORS PLATFORM L50200 CABIN (ELECTRICAL WIRING)
OPERATORS PLATFORM L60000 CABIN (HEATER)
OPERATORS PLATFORM L60100 CABIN (DEFROSTER)
PAINT 000040 PAINT
PUMP MOTOR SYSTEM C00000 PUMP HOUSING
PUMP MOTOR SYSTEM C30001 DRIVE MOTOR AND COMPONENT PARTS
PUMP MOTOR SYSTEM C30002 DRIVE MOTOR AND COMPONENT PARTS
PUMP MOTOR SYSTEM C40001 SWIVEL MOTOR AND COMPONENT PARTS
PUMP MOTOR SYSTEM C40002 SWIVEL MOTOR AND COMPONENT PARTS
PUMP MOTOR SYSTEM C50000 ROTARY JOINT
PUMP MOTOR SYSTEM C50200 OIL TANK
SWIVEL FRAME J00000 SWIVEL FRAME
SWIVEL FRAME J00100 ARCH FRAME
SWIVEL FRAME J10000 SWIVEL BEARING
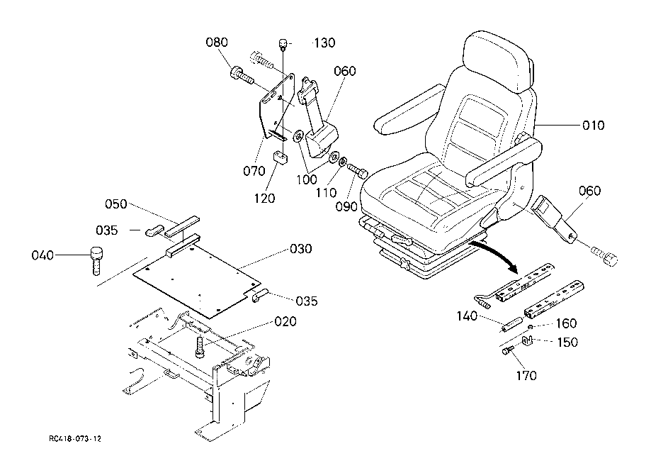
SWIVEL FRAME J20000 SEAT SUPPORT
SWIVEL FRAME J30000 STEP
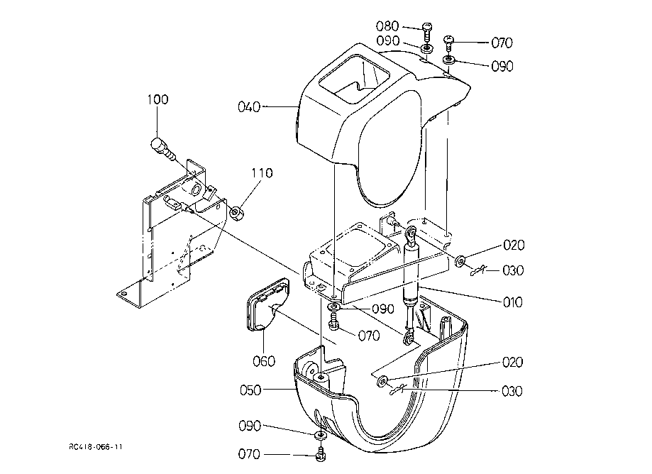
SWIVEL FRAME K00000 COVER LH
SWIVEL FRAME K00100 COVER RH
SWIVEL FRAME K10100 BONNET LH
SWIVEL FRAME K20000 SPONGE 1
SWIVEL FRAME K20100 SPONGE 2
SWIVEL FRAME K30000 WEIGHT
SWIVEL FRAME K40000 SEAT
SWIVEL FRAME K40100 SEAT (COMPONENT PARTS)
TRACK FRAME H00000 TRACK FRAME
TRACK FRAME H10000 IDLER
TRACK FRAME H20000 TRACK ROLLER
TRACK FRAME H30000 CRAWLER
USEFUL PRODUCTS 000010 USEFUL PRODUCTS
New to our website?Creating an account is easy and quick!
Our website uses cookie to give you the best online shopping experience. More information Accept